Запчасти Case CX800 (08-205-00[01]) - CONTROL VALVE (08) - HYDRAULICS

Схема запчастей Case CX800 - (08-205-00[01]) - CONTROL VALVE (08) - HYDRAULICS
160
167
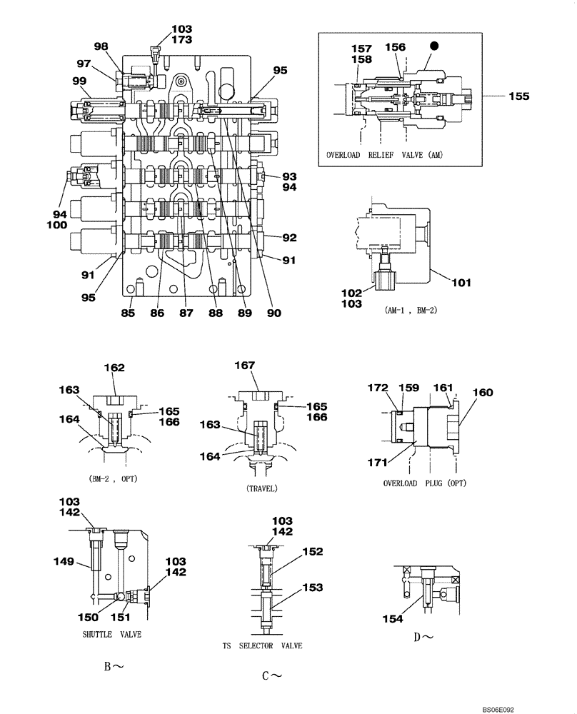
87
90
154
163
142
100
102
91
159
165
158
150
97
88
94
152
151
155
173
165
103
162
142
164
241
89
98
161
172
164
171
95
149
99
166
103
85
142
103
92
157
93
91
166
86
103
101
94
163
153
103
156
95
FIT
1:1
100%

Артикул

Название

Примечание

Количество

85

NSS

NOT SOLD SEPARAT

Housing

1шт.

86

NSS

NOT SOLD SEPARAT

Spool

1шт.

87

NSS

NOT SOLD SEPARAT

Spool

1шт.

88

NSS

NOT SOLD SEPARAT

Spool

1шт.

89

NSS

NOT SOLD SEPARAT

Spool

1шт.

90

NSS

NOT SOLD SEPARAT

Spool

1шт.

91

108R012Z030N

BOLT

20шт.

92

LW00266

COVER

3шт.

93

156263A1

CAP

1шт.

94

154475A1

O-RING

2шт.

95

LBQ6226

O-RING

10шт.

97

LJ00580

VALVE, PRESSURE RELI

EF Incl. 97

1шт.

98

154555A1

O-RING

1шт.

99

LW00268

COVER

5шт.

100

LK00233

CAP

1шт.

101

LW00269

COVER

2шт.

102

LK00238

PLUG

2шт.

103

154467A1

O-RING,10.8mm ID x 2.4mm Width

11шт.

142

160306A1

CAP

5шт.

149

LJ00595

ORIFICE

1шт.

150

LB00433

BALL

1шт.

151

LR00424

SPRING SEAT

1шт.

152

LG00259

COMPRESSION SPRING

1шт.

153

NSS

NOT SOLD SEPARAT

Spool

1шт.

154

LJ00594

ORIFICE

1шт.

155

LJ00878

VALVE, PRESSURE RELI

EF Incl. 156 - 158

2шт.

156

154525A1

O-RING

1шт.

157

153973A1

BACK-UP RING

1шт.

158

154493A1

O-RING

1шт.

159

156264A1

CAP

2шт.

160

154523A1

O-RING

2шт.

161

LK00231

CAP

2шт.

162

156079A1

SPRING

3шт.

163

LJ00600

CHECK VALVE

3шт.

164

154006A1

BACK-UP RING

3шт.

165

154535A1

O-RING

3шт.

166

LR00425

CAP

1шт.

171

LK005440

PLUG

2шт.

172

154491A1

O-RING

2шт.

173

160901A1

CAP

1шт.

Выбрано товаров: 40