Запчасти Case CX800 (08-208-00[01]) - SWING JOINT (08) - HYDRAULICS

Схема запчастей Case CX800 - (08-208-00[01]) - SWING JOINT (08) - HYDRAULICS
12
1
3
4
11
1
7
17
22
18
2
9
5
8
16
14
15
20
21
13
10
23
19
6
FIT
1:1
100%

Артикул

Название

Примечание

Количество

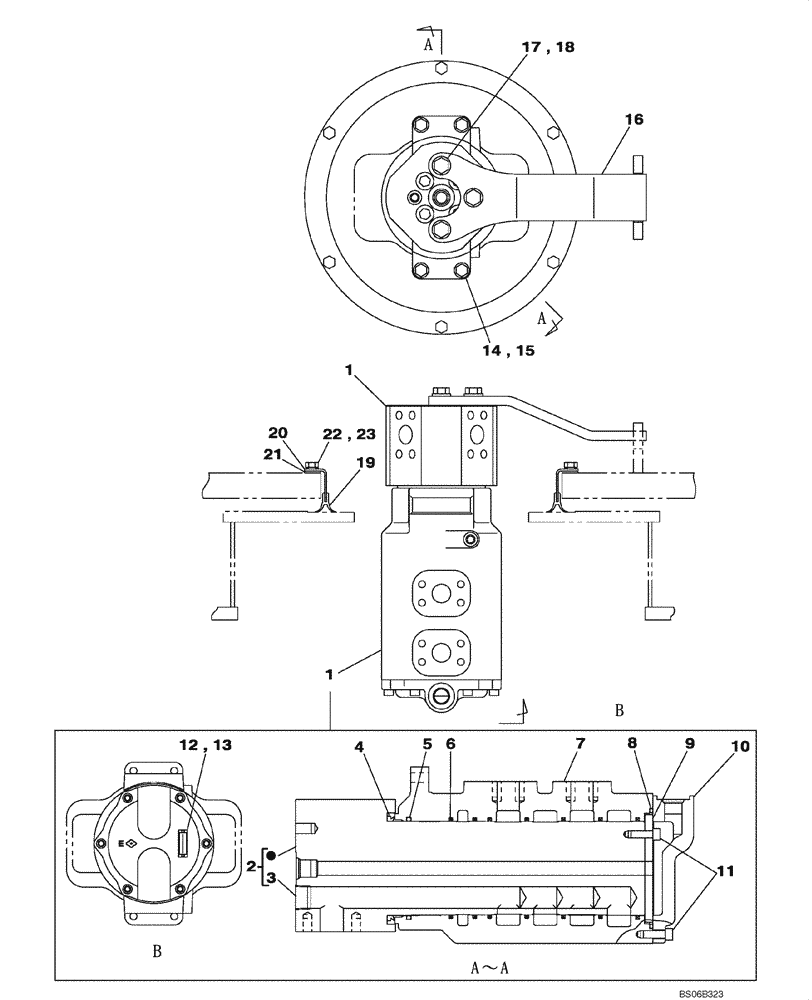
1

KUA0387

JOINT TURNING

Incl. 2 - 13

1шт.

2

KUA0385

SHAFT

Incl. 3

1шт.

3

KHJ1274

PLUG

4шт.

4

KUA0095

SHAFT SEAL

1шт.

5

154776A1

O-RING

1шт.

6

KUA0096

PACKAGE, RINGS

7шт.

7

KUA0386

ROTOR

1шт.

8

CBP0326

O-RING

1шт.

9

KUA0093

WASHER, THRUST

1шт.

10

KUA0094

COVER

1шт.

11

862-10030

HEX SOC SCREW,M10 x 30mm, Cl 12.9

10шт.

12

NSS

NOT SOLD SEPARAT

Nameplate

1шт.

13

NSS

NOT SOLD SEPARAT

Rivet

2шт.

14

627-12045

BOLT,Hex, M12 x 1.75 x 45mm, Cl 10.9, Full Thd

4шт.

15

150811A1

WASHER

W12

4шт.

16

KUA0163

LOCKING DEVICE

1шт.

17

627-16040

BOLT,Hex, M16 x 2 x 40mm, Cl 10.9, Full Thd

3шт.

18

150814A1

WASHER,17mm ID x 32mm OD x 4.5mm Thk

W16

3шт.

19

KUA0098

SEALING RING

SEALRING

1шт.

20

KUA0099

SEAL RETAINER

1шт.

21

KUA0100

PACKING

1шт.

22

627-12025

BOLT,Hex, M12 x 1.75 x 25mm, Cl 10.9, Full Thd

6шт.

23

161498A1

SEALING WASHER

W M12

6шт.

Выбрано товаров: 23