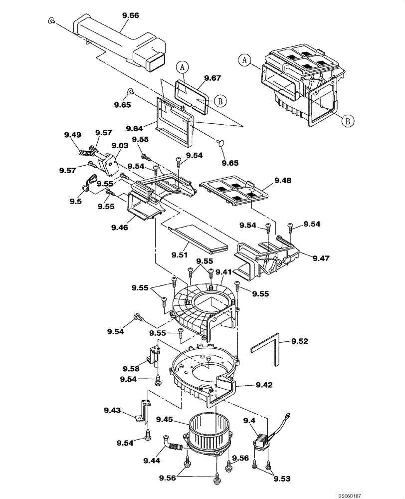
Запчасти Case CX800 (09-036-00[01]) - CAB AIR CONDITIONING - DIFFUSER (09) - CHASSIS

Схема запчастей Case CX800 - (09-036-00[01]) - CAB AIR CONDITIONING - DIFFUSER (09) - CHASSIS
9.54
9.55
9.55
9.55
9.41
9.65
9.48
9.58
9.55
9.51
9.03
9.54
9.52
9.43
9.42
9.54
9.55
9.56
9.54
9.54
9.57
9.5
9.65
9.55
9.55
9.67
9.66
9.47
9.45
9.64
9.57
9.4
9.54
9.56
9.53
9.44
9.46
9.49
9.54
FIT
1:1
100%

Артикул

Название

Примечание

Количество

9.3

KHR2829

SHUTTER

1шт.

9.4

KHR4118

RESISTOR

1шт.

9.41

KHR2841

HOUSING

1шт.

9.42

KHR2842

HOUSING

1шт.

9.43

KHR2843

BRACKET

1шт.

9.44

KHR2844

HOSE

1шт.

9.45

KHR2845

MOTOR, ELECTRIC

1шт.

9.46

KHR2846

HOUSING

1шт.

9.47

KHR2847

HOUSING

1шт.

9.48

KHR2848

FILTER

1шт.

9.49

KHR2849

LEVER

1шт.

9.50

KHR2850

LEVER

1шт.

9.51

KHR2851

SHUTTER

1шт.

9.52

KHR2852

GASKET

1шт.

9.53

KHR2855

SCREW

M4 x 14

2шт.

9.54

KHR2856

SCREW

M5 x 14

10шт.

9.55

KHR2857

SELF-TAP SCREW

M5 x 16

11шт.

9.56

KHR2858

SCREW

M5 x 16

3шт.

9.57

KHR2859

SELF-TAP SCREW

M4 x 22

3шт.

9.58

KHR2860

BRACKET

1шт.

9.64

KHR2771

DUCT

1шт.

9.65

KHR2773

COLLAR

3шт.

9.66

KHR2761

DUCT

1шт.

9.67

KHR3229

GASKET

1шт.

Выбрано товаров: 24