Запчасти Case CX800 (05-010-00[01]) - GUIDE, CHAIN (OPTIONAL) (11) - TRACKS/STEERING

Схема запчастей Case CX800 - (05-010-00[01]) - GUIDE, CHAIN (OPTIONAL) (11) - TRACKS/STEERING
4
2
11
10
2
9
1
8
7
3
5
6
FIT
1:1
100%

Артикул

Название

Примечание

Количество

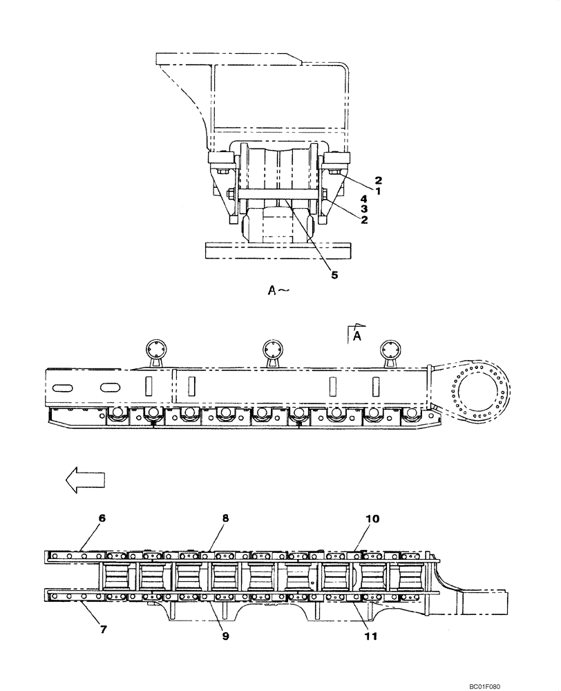
1

102R027Y080N

BOLT

M27 x 80

48шт.

2

157544A1

WASHER

W27

88шт.

3

KUA0110

BOLT

M27 x 430

20шт.

4

162R027VN

NUT

N M27

20шт.

5

KWA0065

SPACER

Replaces KUA0109

20шт.

6

KUA0131

GUARD

2шт.

7

KUA0134

GUARD

2шт.

8

KUA0132

GUARD

2шт.

9

KUA0135

GUARD

2.шт.

10

KUA0133

GUARD

2шт.

11

KUA0136

GUARD

2шт.

Выбрано товаров: 0