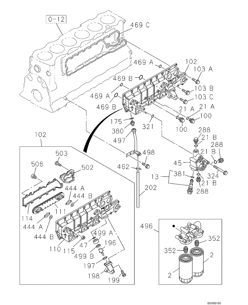
Запчасти Case CX800 (02-050-01[01]) - OIL COOLER - ENGINE (02) - ENGINE

Схема запчастей Case CX800 - (02-050-01[01]) - OIL COOLER - ENGINE (02) - ENGINE
444b
202
352
469b
197
496
198
103b
114
506
499a
444b
102
21b
103c
21a
498
469a
102
321
110
380
21a
21b
444a
2
381
288
502
469c
115
100
13
47
469b
45
462
175
497
352
196
444a
469a
324
0-12
21b
288
2
199
503
111
499b
100
288
103a
FIT
1:1
100%

Артикул

Название

Примечание

Количество

0-12

REF

INSTRUCTION

See Figure 02-012-01 01

1шт.

2

87379813

ENGINE OIL FILTER

2шт.

13

87386036

VALVE PRESSURE RELIE

Incl. 381

1шт.

21a

288565A1

GASKET

2шт.

21b

76550083

SEALING RING

1шт.

45

87386038

MANIFOLD

1шт.

47

426458A1

PACKING RING

1шт.

100

289998A1

PLUG

M14 x 9

2шт.

102

87544993

OIL COOLER

Incl. 47, 110, 111, 114, 115, 196 - 199, 444A, 444B, 499A, 499B, 502, 503, 506; Replaces 87386042

1шт.

103a

426208A1

BOLT

M10 x 30

17шт.

103b

426463A1

BOLT

M10 x 65

8шт.

103c

426465A1

BOLT

M10 x 110

1шт.

110

87386043

HOUSING

1шт.

111

87386044

COOLER

1шт.

114

426468A1

PLATE

1шт.

115

87380183

NUT

4шт.

175

426472A1

GASKET,18.2mm ID x 24.4mm OD

ID 18.2 - OD 24.4

1шт.

196

87386045

THERMOSTAT

1шт.

197

426475A1

GASKET

1шт.

198

426476A1

ELBOW

1шт.

199

289039A1

BOLT

M10 x 35

2шт.

202

288856A1

HOSE

1шт.

288

76557685

PLUG

3шт.

321

426494A1

GASKET,312mm ID

ID 31.2

2шт.

324

437852A1

BOLT

M10 x 80

4шт.

352

87380141

ADAPTER

2шт.

380

426496A1

FITTING

1шт.

381

NSS

NOT SOLD SEPARAT

O-Ring; Included With Ref 13

1шт.

444a

87386046

GASKET

2шт.

444b

87386047

GASKET

2шт.

462

426500A1

MOUNTING CLIP

ID 14

1шт.

469a

426413A1

GASKET

ID 18.8

2шт.

469b

426494A1

GASKET,312mm ID

ID 31.2

2шт.

469c

446627A1

GASKET

1шт.

496

87368654

FILTER ASSY

Incl. 2, 352

1шт.

497

426504A1

PIPE

1шт.

498

288993A1

FLANGE BOLT

M10 x 20

1шт.

499a

426505A1

COLLAR

1шт.

499b

426506A1

RING

1шт.

502

426508A1

COVER

1шт.

503

87386048

BOLT

4шт.

506

87386050

SCREW,M6 x 8mm

M6 x 8

10шт.

Выбрано товаров: 42