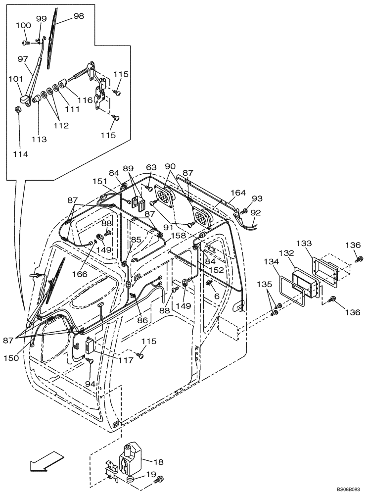
Запчасти Case CX800 (04-012-00[01]) - CAB - ELECTRICAL CIRCUIT (04) - ELECTRICAL SYSTEMS

Схема запчастей Case CX800 - (04-012-00[01]) - CAB - ELECTRICAL CIRCUIT (04) - ELECTRICAL SYSTEMS
88
100
158
92
90
166
134
93
115
136
150
133
19
149
89
87
112
111
99
164
6
87
86
97
18
115
117
225
135
151
84
85
98
113
101
116
87
149
84
132
63
87
94
91
114
88
136
FIT
1:1
100%

Артикул

Название

Примечание

Количество

6

161381A1

COLLAR

4шт.

18

161374A1

RESERVOIR ASSY.

Incl. 19

1шт.

19

KHN2506

PLUG

1шт.

63

KHN2687

SCREW,Spcl

M5 x 14

4шт.

84

KHN2709

GROMMET

2шт.

85

KHN2710

GROMMET

1шт.

86

KHN2711

CABLE CLIP

1шт.

87

KHN2712

FASTENER

7шт.

88

KHN2713

SCREW,Spcl

M5 x 16

2шт.

89

KHN2714

COURTESY LIGHT

DOME LIGHT

1шт.

90

KHN2715

SPEAKER

Incl. 90A

2шт.

90a

KHN2935

SIEVE

Not Illustrated

1шт.

91

KHN2716

SCREW,Spcl

M4 x 12

8шт.

92

KHN2717

ANTENNA

1шт.

93

KHN2718

SCREW,Spcl

M3,5 x 16

1шт.

94

KHN2719

SCREW,Spcl

M6 x 12

1шт.

97

KHN2730

WIPER ARM

1шт.

98

KHN2731

WIPER BLADE

1шт.

99

KHN2732

ADAPTER

1шт.

100

KHN2733

SCREW,Spcl

2шт.

101

KHN2734

CAP ASSY.

1шт.

KHN3544

WIPER MOTOR

MOTOR, WIPER Incl. 111 - 114

1шт.

111

KHN2737

WASHER

1шт.

112

KHN2738

SPECIAL NUT

2шт.

113

KHN2739

CAP

1шт.

114

KHN2740

SPECIAL NUT

1шт.

115

KHN2741

SCREW,Spcl

M6 x 1 x 16

8шт.

116

KHN2742

SPACER

1шт.

117

KHN3392

ECU

1шт.

117

KHN3392R

REMAN ELECT CONTROL

CX800 CRAWLER EXCAVATOR TIER 3 (NA) (3/06-)

1шт.

117

KHN3392C

CORE-ELECTRONIC CONT

Return Number

1шт.

132

KHN2769

COVER

1шт.

133

KHN2770

HOUSING

1шт.

134

KHN2771

SEAL

1шт.

135

KHN2772

GROMMET

5шт.

136

KHN2773

SCREW,Spcl

5шт.

149

KHR2950

LIMIT SWITCH

2шт.

150

KHR4121

HARNESS

1шт.

151

KHR3190

HARNESS

1шт.

152

KHR3191

HARNESS

1шт.

158

KHR3349

HARNESS

1шт.

164

KHN3007

DECAL

1шт.

166

KHN3681

SPACER

1шт.

Выбрано товаров: 43