Запчасти Case CX130B (08-33) - SELECTOR VALVE, CONTROL VALVE - TWO WAY (08) - HYDRAULICS

Схема запчастей Case CX130B - (08-33) - SELECTOR VALVE, CONTROL VALVE - TWO WAY (08) - HYDRAULICS
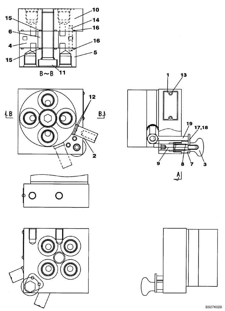
2
11
3
4
8
10
15
1
7
6
17
13
5
16
12
16
15
9
18
14
19
FIT
1:1
100%

Артикул

Название

Примечание

Количество

KHJ12080

CONTROL BLOCK

Selector Valve Assembly

1шт.

Includes Ref. 1 - 19

1шт.

1

NSS

NOT SOLD SEPARAT

NAME PLATE

1шт.

2

LF00035

CONTROL LEVER

1шт.

3

LP000220

KNOB

KNOB

1шт.

4

NSS

NOT SOLD SEPARAT

PLATE

1шт.

5

LR014550

PLATE

PLATE

1шт.

6

NSS

NOT SOLD SEPARAT

COLLAR

1шт.

7

LH004670

SLEEVE

SLEEVE

1шт.

8

LG005840

COMPRESSION SPRING

SPRING, COMPRESSION

1шт.

9

LA010670

DOWEL

PIN, SPL

1шт.

10

LR014560

PLATE

PLATE

1шт.

11

LA010680

BOLT,Hex Skt Hd

BOLT HEX SOC HD

1шт.

12

895-11008

WASHER,9mm ID x 16mm OD x 1.6mm Thk

2шт.

13

NSS

NOT SOLD SEPARAT

RIVET

2шт.

14

LA010690

DOWEL

PIN

1шт.

15

LE00852

O-RING

2шт.

16

LE01128

O-RING

2шт.

17

LG005850

STOP LOCK

STOPPER SPL

1шт.

18

NSS

NOT SOLD SEPARAT

BRACKET

1шт.

19

NSS

NOT SOLD SEPARAT

PIN, SPL

2шт.

Выбрано товаров: 21