Запчасти Case CX130B (08-48) - HYDRAULIC CIRCUIT - OPTIONAL (SINGLE ACTING) - PLUG, BLANK-OFF (08) - HYDRAULICS

Схема запчастей Case CX130B - (08-48) - HYDRAULIC CIRCUIT - OPTIONAL (SINGLE ACTING) - PLUG, BLANK-OFF (08) - HYDRAULICS
1
8
20
3
10
9
9
6
2
12
17
22
11
14
19
14
17
13
23
5
16
18
4
18
16
15
8
7
12
13
21
FIT
1:1
100%

Артикул

Название

Примечание

Количество

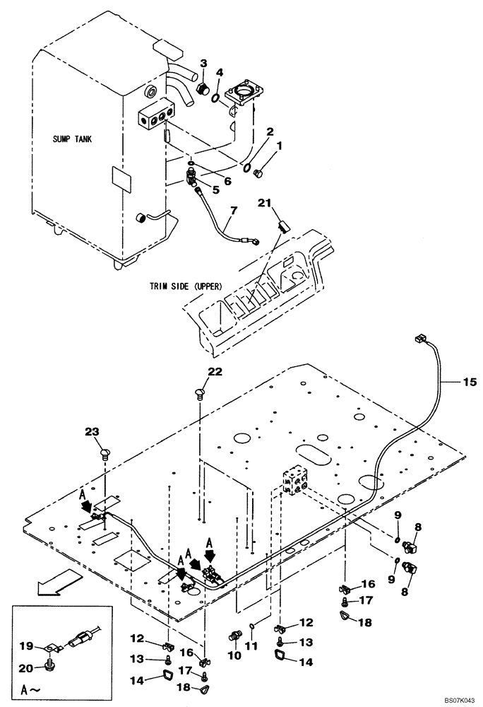
1

159085A1

PLUG

Incl. 2

1шт.

2

154487A1

O-RING

1шт.

3

162659A1

PLUG

Incl. 4

1шт.

4

154523A1

O-RING

1шт.

5

150913A1

ELBOW,90 Degree, 1/4" O-Ring x 1/4"

Incl. 6

1шт.

6

154467A1

O-RING,10.8mm ID x 2.4mm Width

1шт.

7

KHJ2034

HOSE,6.3 mm ID x 430.00 mm

430 mm

1шт.

8

150913A1

ELBOW,90 Degree, 1/4" O-Ring x 1/4"

Incl. 9

2шт.

9

154467A1

O-RING,10.8mm ID x 2.4mm Width

1шт.

10

152127A1

HYD CONNECTOR,1/4" NPT O-Ring x 1/4" NPT

Incl. 11

2шт.

11

154467A1

O-RING,10.8mm ID x 2.4mm Width

1шт.

12

150860A1

COLLAR

3шт.

13

840-168

SCREW,Pan, M6 x 1 x 8mm, Cl 4.8

3шт.

14

150496A1

MOUNTING CLIP

3шт.

15

KHR15960

WIRE HARNESS

1шт.

16

150860A1

COLLAR

4шт.

17

840-168

SCREW,Pan, M6 x 1 x 8mm, Cl 4.8

4шт.

18

150496A1

MOUNTING CLIP

4шт.

19

158962A1

CLIP

4шт.

20

166345A1

BOLT

4шт.

21

KHR10390

CAP

1шт.

22

KHJ15060

CAP

4шт.

23

KHJ15080

CAP

2шт.

Выбрано товаров: 23