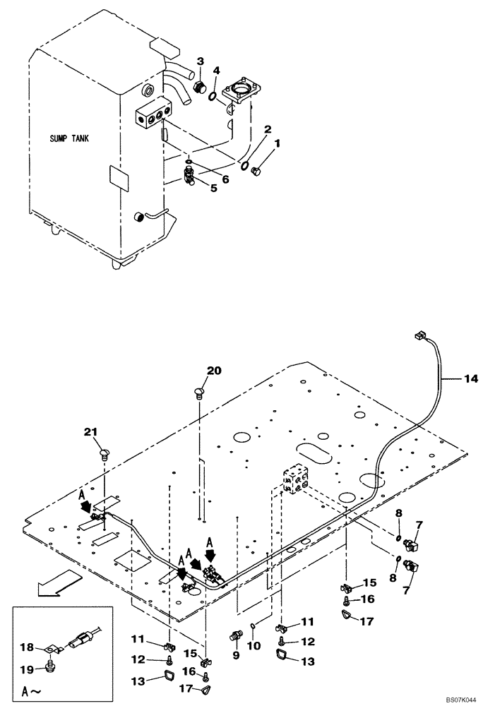
Запчасти Case CX130B (08-49) - HYDRAULIC CIRCUIT - OPTIONAL (3-WAY) - PLUG, BLANK-OFF (08) - HYDRAULICS

Схема запчастей Case CX130B - (08-49) - HYDRAULIC CIRCUIT - OPTIONAL (3-WAY) - PLUG, BLANK-OFF (08) - HYDRAULICS
9
6
4
11
17
7
3
8
10
15
16
15
20
16
5
11
19
12
8
14
7
1
21
13
2
13
17
12
18
FIT
1:1
100%

Артикул

Название

Примечание

Количество

1

159085A1

PLUG

Incl. 2

1шт.

2

154487A1

O-RING

1шт.

3

162659A1

PLUG

Incl. 4

1шт.

4

154523A1

O-RING

1шт.

5

150913A1

ELBOW,90 Degree, 1/4" O-Ring x 1/4"

Incl. 6

1шт.

6

154467A1

O-RING,10.8mm ID x 2.4mm Width

1шт.

7

150913A1

ELBOW,90 Degree, 1/4" O-Ring x 1/4"

Incl. 8

2шт.

8

154467A1

O-RING,10.8mm ID x 2.4mm Width

1шт.

9

152127A1

HYD CONNECTOR,1/4" NPT O-Ring x 1/4" NPT

Incl. 10

2шт.

10

154467A1

O-RING,10.8mm ID x 2.4mm Width

1шт.

11

150860A1

COLLAR

3шт.

12

840-168

SCREW,Pan, M6 x 1 x 8mm, Cl 4.8

3шт.

13

150496A1

MOUNTING CLIP

3шт.

14

KHR15960

WIRE HARNESS

1шт.

15

150860A1

COLLAR

4шт.

16

840-168

SCREW,Pan, M6 x 1 x 8mm, Cl 4.8

4шт.

17

150496A1

MOUNTING CLIP

4шт.

18

158962A1

CLIP

4шт.

19

166345A1

BOLT

4шт.

20

KHJ15060

CAP

2шт.

21

KHJ15080

CAP

2шт.

Выбрано товаров: 21