Запчасти Case CX130B (08-51[02]) - SWING MOTOR-DRIVE REDUCTION GEAR (08) - HYDRAULICS

Схема запчастей Case CX130B - (08-51[02]) - SWING MOTOR-DRIVE REDUCTION GEAR (08) - HYDRAULICS
64
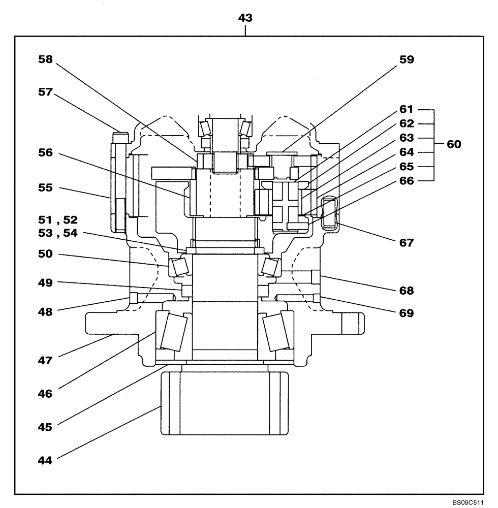
43
58
46
56
44
65
45
62
48
61
66
47
69
59
55
67
53
57
51
50
68
49
63
52
60
54
FIT
1:1
100%

Артикул

Название

Примечание

Количество

43

LN002340

REDUCER

Incl. 44 - 69

1шт.

LN002340R

REMAN-REDUCTION UNIT

CX130B TIER 3 (3/08-)

1шт.

LN002340C

CORE-REDUCTION UNIT

Return Number

1шт.

44

LB012830

SHAFT

1шт.

45

LR01056

PLATE

1шт.

46

LB00939

TAPERED BEARING

1шт.

47

LW00429

CASE

1шт.

48

151026A1

PLUG

1шт.

49

LE01113

OIL SEAL

1шт.

50

LB00940

TAPERED BEARING

1шт.

51

LH005420

COLLAR

2шт.

52

LH005430

COLLAR

2шт.

53

LH005440

COLLAR

2шт.

54

LH00385

COLLAR

2шт.

55

LC00237

RING GEAR

4шт.

56

155264A1

PINION

1шт.

57

863-12100

HEX SOC SCREW,M12 x 100mm, Cl 12.9

8шт.

58

160821A1

SUN GEAR

1шт.

58

LNM0602

GEAR SET

1шт.

59

LNM0601

PLANETARY GEAR

1шт.

60

LC00238

PLANETARY GEAR

Incl. 61 - 66

1шт.

61

155357A1

SHAFT

1шт.

62

LS004020

SUPPORT

1шт.

63

155377A1

BUSHING

1шт.

64

LDM0189

GEAR

1шт.

65

155376A1

PLATE, THRUST

1шт.

66

LMM0559

PIN

1шт.

67

LA00899

DOWEL

2шт.

68

151030A1

PLUG

1шт.

69

LK00053

PLUG

1шт.

Выбрано товаров: 30