Запчасти Case CX130B (02-04) - EXHAUST SYSTEM - MUFFLER (02) - ENGINE

Схема запчастей Case CX130B - (02-04) - EXHAUST SYSTEM - MUFFLER (02) - ENGINE
3
5
10
11
6
7
11
4
1
9
8
2
FIT
1:1
100%

Артикул

Название

Примечание

Количество

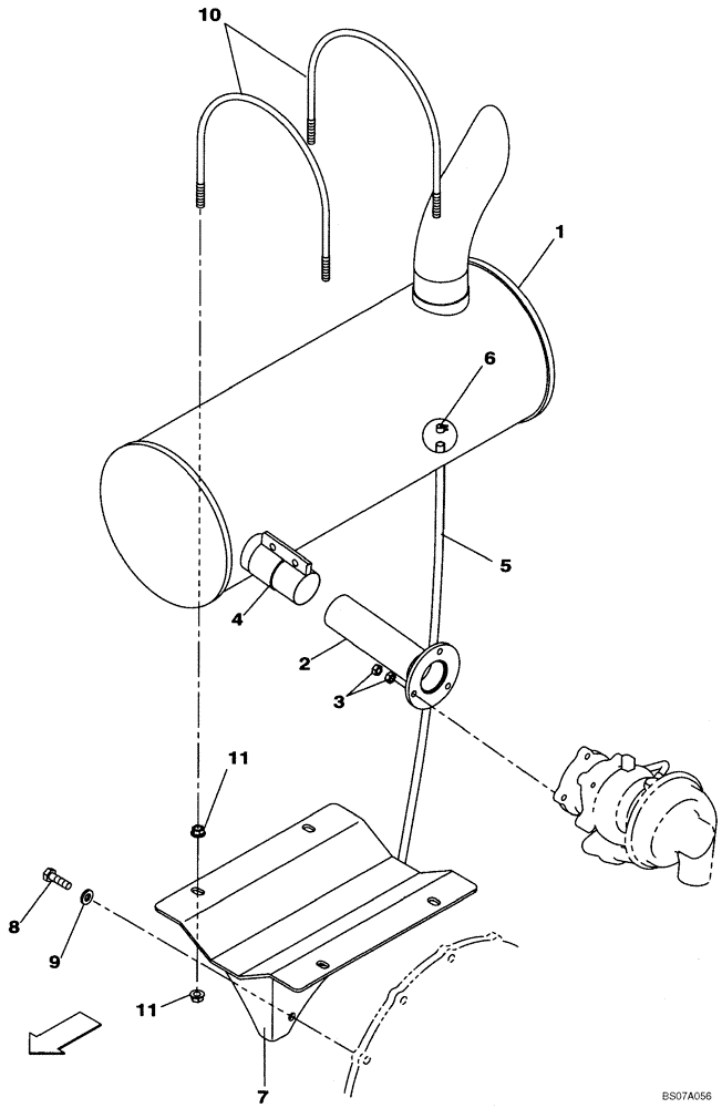
1

KLH10140

MUFFLER

1шт.

2

KLH10390

EXHAUST SYSTEM PIPE

1шт.

3

829-1408

NUT,Hex, M8 x 1.25, Cl 10.9

6шт.

4

KEH0326

CLAMP

1шт.

5

157478A1

TUBE

1шт.

6

165952A1

MOUNTING CLIP

1шт.

7

KLH10400

BRACKET

1шт.

8

627-10035

BOLT,Hex, M10 x 1.5 x 35mm, Cl 10.9, Full Thd

3шт.

9

150409A1

WASHER

3шт.

10

KHH11390

U-BOLT

BOLT "U"

2шт.

11

KHH11440

FLANGE NUT

8шт.

Выбрано товаров: 11