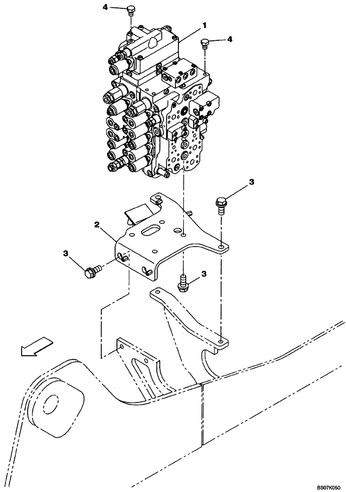
Запчасти Case CX130B (08-56) - CONTROL VALVE - SUPPORT (08) - HYDRAULICS

Схема запчастей Case CX130B - (08-56) - CONTROL VALVE - SUPPORT (08) - HYDRAULICS
3
1
2
3
4
4
FIT
1:1
100%

Артикул

Название

Примечание

Количество

1

KNJ14651

VALVE, CONTROL, See Figures 08-56 [01] - 08-56 [04] And 08-56 [08], Before P.I.N. 130K5N8SAD1160 And 130K5N8SAD1172

1шт.

1

KNJ14652

VALVE, CONTROL, Since P.I.N. 130K5N8SAD1160 And 130K5N8SAD1172

1шт.

2

KNJ14670

SUPPORT

1шт.

3

166373A1

BOLT,Sems, M16 x 40mm

8шт.

4

102R012Y016R

BOLT

2шт.

Выбрано товаров: 5