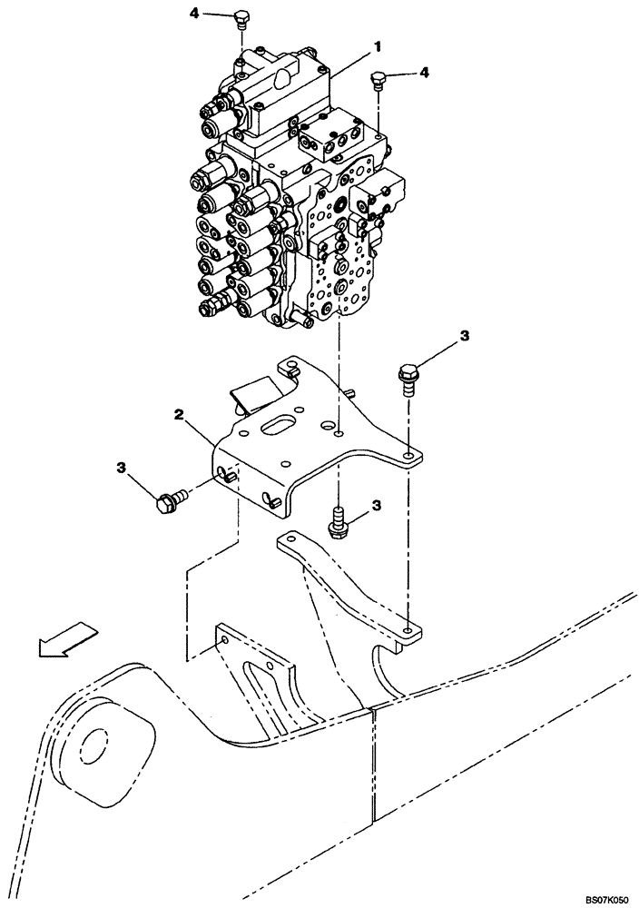
Запчасти Case CX130B (08-56A) - CONTROL VALVE W/BLADE - SUPPORT - OPTIONAL (08) - HYDRAULICS

Схема запчастей Case CX130B - (08-56A) - CONTROL VALVE W/BLADE - SUPPORT - OPTIONAL (08) - HYDRAULICS
1
3
4
2
4
3
FIT
1:1
100%

Артикул

Название

Примечание

Количество

1

KNJ14661

VALVE, CONTROL, See Figures 08-56 [01] - 08-56 [07], Before P.I.N. 130K5N8SAD1160 And 130K5N8SAD1172

1шт.

1

KNJ14662

VALVE, CONTROL, Since P.I.N. 130K5N8SAD1160 And 130K5N8SAD1172

1шт.

2

KNJ14670

SUPPORT

1шт.

3

166373A1

BOLT,Sems, M16 x 40mm

8шт.

4

102R012Y016R

BOLT

2шт.

Выбрано товаров: 5