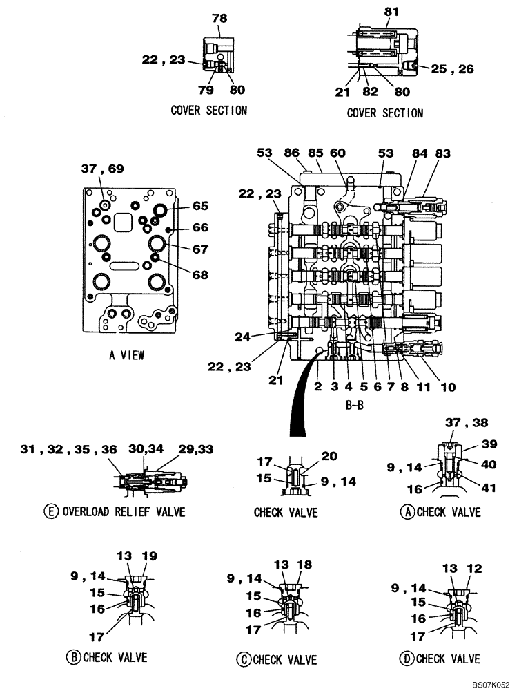
Запчасти Case CX130B (08-58) - KNJ14640 VALVE ASSY - CONTROL (08) - HYDRAULICS

Схема запчастей Case CX130B - (08-58) - KNJ14640 VALVE ASSY - CONTROL (08) - HYDRAULICS
79
17
7
38
15
86
9
22
2
9
16
14
81
33
67
9
3
80
31
41
60
20
25
37
69
36
85
14
16
13
16
14
22
23
13
17
84
83
19
21
6
34
23
37
53
12
8
40
13
17
29
32
53
15
16
78
14
66
39
80
9
10
5
22
15
15
68
4
18
23
24
11
82
35
30
21
17
9
65
26
14
FIT
1:1
100%

Артикул

Название

Примечание

Количество

KNJ14642

CONTROL VALVE

Includes All Parts On Figures 08-57 - 08-60, Replaces KNJ14640, KNJ14641

1шт.

2

NSS

NOT SOLD SEPARAT

Housing, Valve

1шт.

3

NSS

NOT SOLD SEPARAT

Spool

1шт.

4

NSS

NOT SOLD SEPARAT

Spool

1шт.

5

NSS

NOT SOLD SEPARAT

Spool

1шт.

6

NSS

NOT SOLD SEPARAT

Spool

1шт.

7

NSS

NOT SOLD SEPARAT

Spool

1шт.

8

160806A1

O-RING

5шт.

9

154495A1

O-RING

6шт.

10

LJ00800

VALVE, PRESSURE RELI

EF Incl. 11

1шт.

11

154495A1

O-RING

1шт.

12

LR017700

PLUG

Replaces LR01104

1шт.

13

155920A1

VALVE, CHECK

3шт.

14

153976A1

BACK-UP RING

6шт.

15

156027A1

SPRING

5шт.

16

155295A1

BALL

4шт.

17

LJ014920

VALVE PRESSURE RELIE

5шт.

18

LR015550

PLUG

1шт.

19

160918A1

CAP

1шт.

20

LR015560

PLUG

2шт.

21

154463A1

O-RING

7шт.

22

160902A1

CAP

8шт.

23

154455A1

O-RING

9шт.

24

160805A1

O-RING

5шт.

25

160306A1

CAP

1шт.

26

154467A1

O-RING,10.8mm ID x 2.4mm Width

1шт.

29

LJ00704

POPPET

Incl. 31 - 33

3шт.

30

154495A1

O-RING

3шт.

31

154402A1

BACK-UP RING

3шт.

32

155063A1

O-RING

3шт.

33

LJ00704

POPPET

Incl. 35 - 37

1шт.

34

154495A1

O-RING

1шт.

35

154402A1

BACK-UP RING

1шт.

36

155063A1

O-RING

1шт.

37

156263A1

CAP

5шт.

38

154475A1

O-RING

1шт.

39

LR015960

PLUG

1шт.

40

160947A1

SPRING

1шт.

41

LJ00705

CHECK VALVE

1шт.

53

154523A1

O-RING

3шт.

60

154487A1

O-RING

6шт.

66

154525A1

O-RING

1шт.

66

154465A1

O-RING

6шт.

67

LBQ7222

O-RING

4шт.

68

154489A1

O-RING

11шт.

69

154477A1

O-RING

1шт.

78

LW005170

CAP

1шт.

79

LK005720

PLUG

3шт.

80

LX00007

BALL

5шт.

81

LW005180

CAP

2шт.

82

LK005730

PLUG

2шт.

83

LJ014960

VALVE PRESSURE RELIE

Incl. 86

1шт.

84

154523A1

O-RING

1шт.

85

LR015620

PLATE

1шт.

86

861-10035

HEX SOC SCREW,M10 x 35mm, Cl 12.9

4шт.

Выбрано товаров: 55