Запчасти Case CX130B (08-61) - VALVE, SOLENOID (08) - HYDRAULICS

Схема запчастей Case CX130B - (08-61) - VALVE, SOLENOID (08) - HYDRAULICS
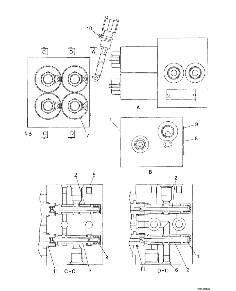
7
5
11
8
2
9
1
6
4
2
2
11
10
3
4
FIT
1:1
100%

Артикул

Название

Примечание

Количество

KHJ15450

SOLENOID VALVE

; Replaces KRJ6304, Incl. 1 - 11

1шт.

1

NSS

NOT SOLD SEPARAT

Body

1шт.

2

NSS

NOT SOLD SEPARAT

Spool, Valve

3шт.

3

NSS

NOT SOLD SEPARAT

Spool, Valve

1шт.

4

NSS

NOT SOLD SEPARAT

Spring, Compression

4шт.

5

NSS

NOT SOLD SEPARAT

Plug

2шт.

6

NSS

NOT SOLD SEPARAT

Plug

1шт.

7

LL00068

SOLENOID VALVE

(Used for Swing Pilot Shut-Off - Green Band, Pilot Pressure - Blue Band, Swing Break - Pink Band, 2 Stage Travel - Red Band, Power-Up - Yellow Band, Cushion Control - Light Green Band) If Used

4шт.

8

NSS

NOT SOLD SEPARAT

Plate

1шт.

9

NSS

NOT SOLD SEPARAT

Screw

2шт.

10

NSS

NOT SOLD SEPARAT

Band

1шт.

11

154475A1

O-RING

If Used

4шт.

Выбрано товаров: 12