Запчасти Case CX130B (08-84) - CYLINDER ASSY - BOOM LH (08) - HYDRAULICS

Схема запчастей Case CX130B - (08-84) - CYLINDER ASSY - BOOM LH (08) - HYDRAULICS
35
18
8
25
4
3
19
36
7
10
17
5
12
32
43
28
22
26
16
11
29
27
31
21
34
13
46
24
42
20
14
37
23
45
39
26
15
8
33
30
38
7
FIT
1:1
100%

Артикул

Название

Примечание

Количество

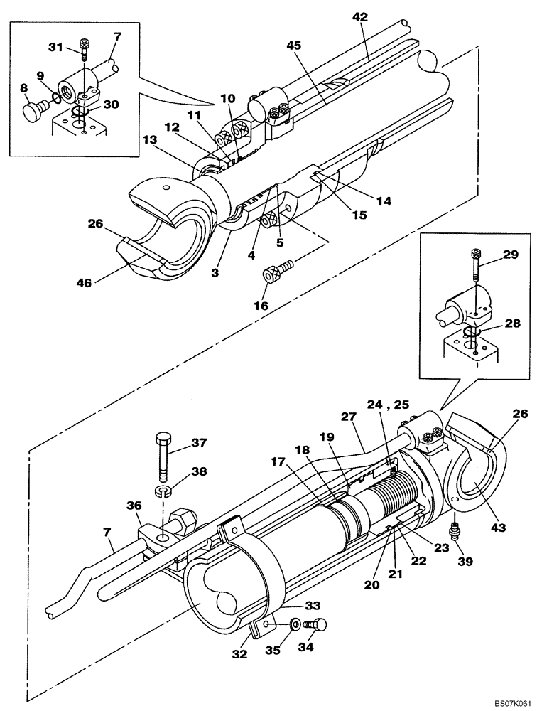
KNV14340

HYDRAULIC CYLINDER

Boom, Incl. 3 - 46

1шт.

KNV14340R

REMAN-HYD CYLINDER

CX130B CRAWLER EXCAVATOR TIER 3, LH, Boom (3/08-)

1шт.

KNV14340C

CORE-HYD CYLINDER

Return Number

1шт.

3

LU00100

CYLINDER END CAP

, Serial Range: - 1 KNV14330 HYDRAUL

1шт.

4

155433A1

BUSHING

1шт.

5

155699A1

RING, SNAP

RING SNAP

1шт.

7

NSS

NOT SOLD SEPARAT

PIPE

1шт.

8

LK00195

PLUG

1шт.

9

154475A1

O-RING

1шт.

10

LE016510

RING

RING

1шт.

11

LE016520

O-RING

U-RING

1шт.

12

155231A1

BACK-UP RING

1шт.

13

LE00420

SEAL

1шт.

14

154721A1

O-RING,99.4mm ID x 3.1mm Width

1шт.

15

161880A1

BACK-UP RING

1шт.

16

108R014Z065N

BOLT

12шт.

17

LE016530

SEALING RING

SEALRING RING, COUSHION

1шт.

18

LE00724

SEAL

1шт.

19

LJ015730

PISTON

PISTON

1шт.

20

155330A1

SEALING RING

1шт.

21

161881A1

BACK-UP RING

2шт.

22

LE015080

SCRAPER RING

2шт.

23

161883A1

BACK-UP RING

2шт.

24

156222A1

SCREW

1шт.

25

155976A1

BALL

1шт.

26

164446A1

WIPER SEAL

4шт.

27

LR016540

HYD TUBE

PIPE

1шт.

28

154528A1

O-RING

1шт.

29

87016471

HEX SOC SCREW,M10 x 30mm, Cl 12.9

4шт.

30

154499A1

O-RING

1шт.

31

861-8025

HEX SOC SCREW,M8 x 25mm, Cl 12.9

1шт.

32

LD001660

CLAMP BRACKET

BAND

1шт.

33

LZU0095

CLAMP BRACKET

1шт.

34

158131A1

BOLT,High Strength, M10 x 1.5 x 35mm, Cl 10.9

2шт.

35

156227A1

WASHER

2шт.

36

160871A1

HALF-FLANGE

2шт.

37

LA00683

BOLT,Hex

1шт.

38

892-10012

LOCK WASHER,M12

1шт.

39

153630A1

LUBE NIPPLE

1шт.

40

LZ009310

SEAL KIT

KIT, GASKET Incl. Ref 10 - 15, 18, 20 - 23

1шт.

42

NSS

NOT SOLD SEPARAT

TUBE, CYL

1шт.

43

KNV1143

SELF LUB RING

1шт.

45

NSS

NOT SOLD SEPARAT

ROD, PISTON

1шт.

46

KNV1139

SELF LUB RING

1шт.

Выбрано товаров: 44