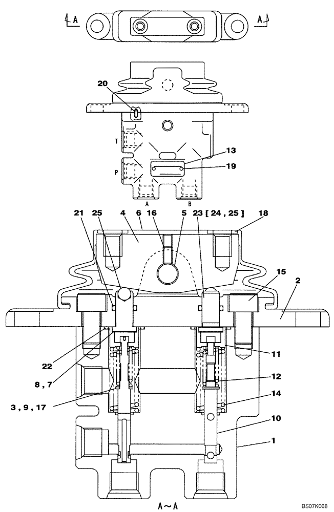
Запчасти Case CX130B (08-94) - VALVE ASSY - REMOTE CONTROL, DOZER BLADE (08) - HYDRAULICS

Схема запчастей Case CX130B - (08-94) - VALVE ASSY - REMOTE CONTROL, DOZER BLADE (08) - HYDRAULICS
15
4
16
10
23
2
1
17
12
22
5
18
21
24
11
9
3
8
13
19
25
7
25
6
20
14
FIT
1:1
100%

Артикул

Название

Примечание

Количество

KHJ2279

REMOTE CONTROL VALVE

Remote Control, Dozer Blade, Incl. 1 - 25

1шт.

1

NSS

NOT SOLD SEPARAT

Body

1шт.

2

LW00298

COVER

1шт.

3

LH00229

SHIM

2шт.

4

LF00029

CAM

1шт.

5

LA00676

SPECIAL PIN

1шт.

6

LQ000330

BELLOWS

1шт.

7

LH00230

SHIM

2шт.

8

LH00231

SHIM

2шт.

9

LH00232

SHIM

2шт.

10

NSS

NOT SOLD SEPARAT

Spool

2шт.

11

LS00108

HOLDER

2шт.

12

LG00303

SPRING

2шт.

13

NSS

NOT SOLD SEPARAT

Plate, Nameplate

1шт.

14

LG00304

SPRING

2шт.

15

863-8016

HEX SOC SCREW,M8 x 16mm, Cl 12.9

2шт.

16

877-1048

SET SCREW,Hex Skt, M4 x 8mm, Cup Pt

1шт.

17

895-10004

WASHER,M4 x 9 x .8

2шт.

18

NSS

NOT SOLD SEPARAT

Washer

2шт.

19

160297A1

RIVET

2шт.

20

160856A1

PIN, ROLL

2шт.

21

154454A1

O-RING

2шт.

22

LE00710

O-RING

2шт.

23

LJ00672

PUSH ROD

Incl. 24, 25

2шт.

24

NSS

NOT SOLD SEPARAT

Rod

1шт.

25

NSS

NOT SOLD SEPARAT

Ball

1шт.

Выбрано товаров: 26