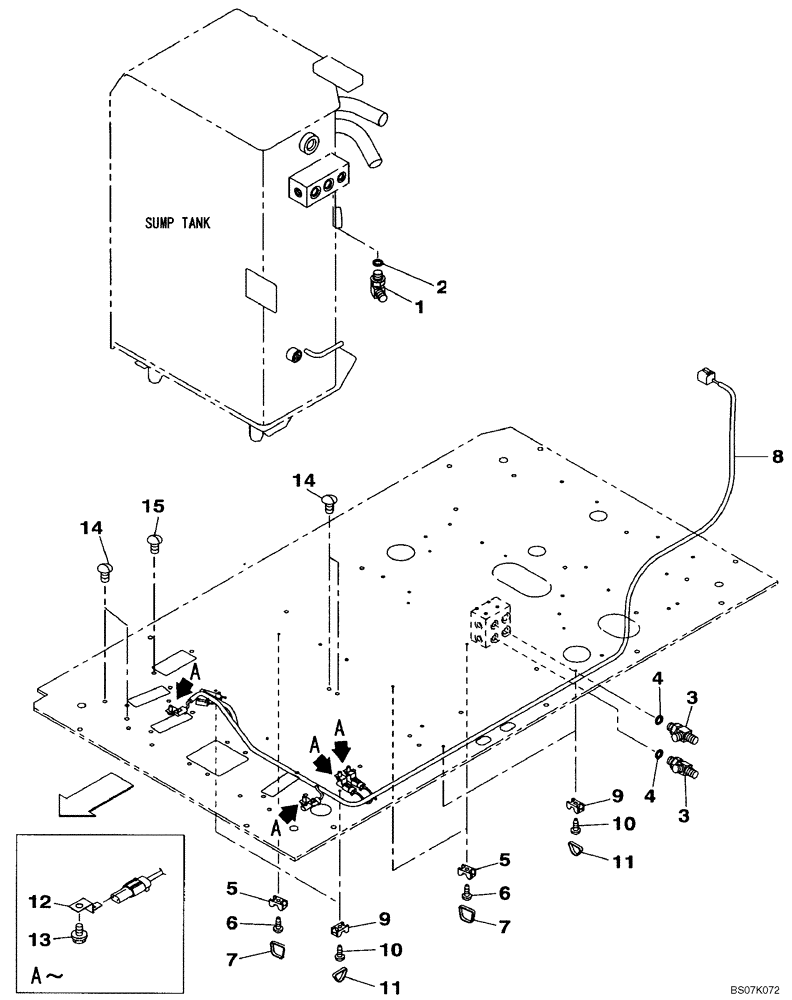
Запчасти Case CX130B (08-98) - HYDRAULIC CIRCUIT - OPTIONAL (3-WAY - SMALL FLOW) - PLUG, BLANK-OFF - WITH DOZER BLADE (08) - HYDRAULICS

Схема запчастей Case CX130B - (08-98) - HYDRAULIC CIRCUIT - OPTIONAL (3-WAY - SMALL FLOW) - PLUG, BLANK-OFF - WITH DOZER BLADE (08) - HYDRAULICS
3
5
11
6
8
9
11
4
10
5
10
4
6
13
7
15
14
7
9
12
1
2
14
3
FIT
1:1
100%

Артикул

Название

Примечание

Количество

1

150913A1

ELBOW,90 Degree, 1/4" O-Ring x 1/4"

Incl. 2

1шт.

2

154467A1

O-RING,10.8mm ID x 2.4mm Width

1шт.

3

159497A1

TEE

Incl. 4

2шт.

4

154467A1

O-RING,10.8mm ID x 2.4mm Width

1шт.

5

150860A1

COLLAR

3шт.

6

840-168

SCREW,Pan, M6 x 1 x 8mm, Cl 4.8

3шт.

7

150496A1

MOUNTING CLIP

250 mm

3шт.

8

KHR19150

WIRE HARNESS

1шт.

9

150860A1

COLLAR

4шт.

10

840-168

SCREW,Pan, M6 x 1 x 8mm, Cl 4.8

4шт.

11

150496A1

MOUNTING CLIP

250 mm

4шт.

12

158962A1

CLIP

4шт.

13

166345A1

BOLT

M8 x 16

4шт.

14

KHJ15060

CAP

M10

4шт.

15

KHJ15080

CAP

M8

1шт.

Выбрано товаров: 15