Запчасти Case CX130B (09-37) - BOOM CYLINDER - MOUNTING (09) - CHASSIS/ATTACHMENTS

Схема запчастей Case CX130B - (09-37) - BOOM CYLINDER - MOUNTING (09) - CHASSIS/ATTACHMENTS
9
10
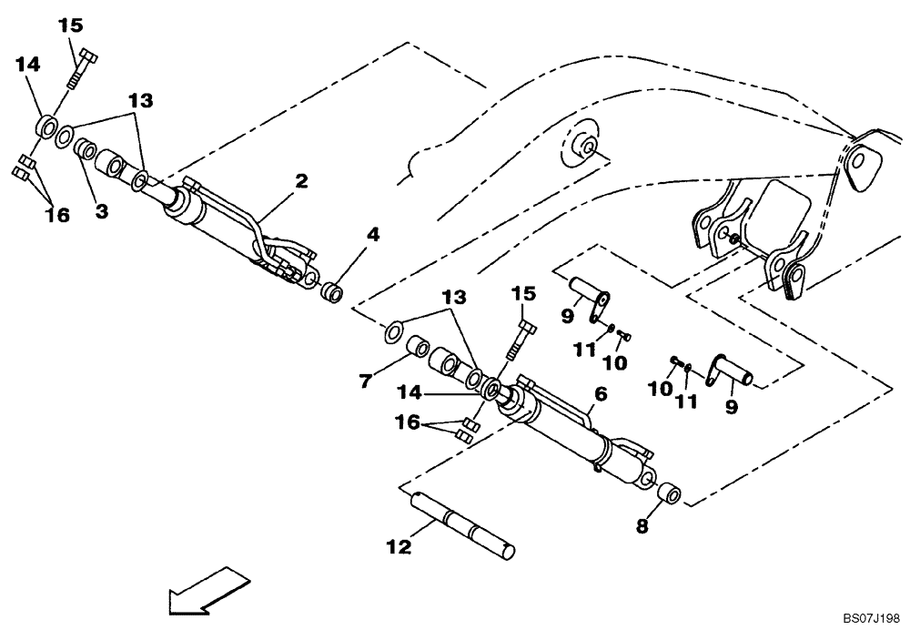
2
6
10
3
4
9
11
8
13
7
16
14
12
14
13
16
11
15
15
FIT
1:1
100%

Артикул

Название

Примечание

Количество

2

KNV14330

HYDRAULIC CYLINDER

RH, See Figure 08-83

1шт.

2

KNV14330R

REMAN-HYD CYLINDER

CX130B CRAWLER EXCAVATOR TIER 3, RH, MOUNTING (3/08-)

1шт.

2

KNV14330C

CORE-HYD CYLINDER

Return Number

1шт.

3

KNV1139

SELF LUB RING

1шт.

4

KNV1143

SELF LUB RING

1шт.

6

KNV14340

HYDRAULIC CYLINDER

LH, See Figure 08-84

1шт.

6

KNV14340R

REMAN-HYD CYLINDER

CX130B CRAWLER EXCAVATOR TIER 3, LH, MOUNTING (3/08-)

1шт.

6

KNV14340C

CORE-HYD CYLINDER

Return Number

1шт.

7

KNV1139

SELF LUB RING

1шт.

8

KNV1143

SELF LUB RING

1шт.

9

KNV13450

PIN

PIN

2шт.

10

627-12025

BOLT,Hex, M12 x 1.75 x 25mm, Cl 10.9, Full Thd

2шт.

11

157141A1

WASHER

2шт.

12

169079A1

PIN

1шт.

13

160745A1

ADJUSTING PLATE

SHIM

4шт.

14

KNV1247

RING, LOCKING

RING, LOCK

2шт.

15

514-1112

BOLT,Hex, M16 x 1.5 x 140mm, Cl 10.9

2шт.

16

829-13416

NUT,M16 x 1.5, Cl 10

4шт.

Выбрано товаров: 18