Качественные детали и логистика
Оригинальные и аналоговые запчасти с доставкой по России, Казахстану и Беларуси
©2022 PartSell ООО "Система" ИНН 2463123282 ОГРН 1212400004838
Центральный офис: г. Красноярск, Академика Киренского, д.87, пом.4
Телефон: 8 (800) 777-65-74 Email: zakaz@partsell.ru
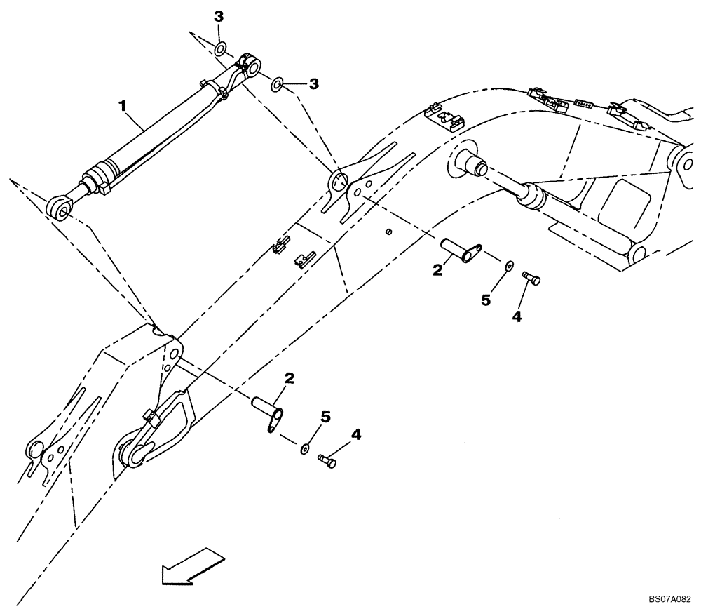
(09-38) - ARM CYLINDER - MOUNTING - STANDARD
№
Артикул
Название
Примечание
Количество
1
KNV14350
HYDRAULIC CYLINDER
See Figure 08-85
1шт.
KNV14350R
REMAN-HYD CYLINDER
CX130B CRAWLER EXCAVATOR TIER 3 (3/08-)
KNV14350C
CORE-HYD CYLINDER
Return Number
2
KNV13440
PIN
2шт.
3
160735A1
ADJUSTING PLATE
SHIM
4
627-12025
BOLT,Hex, M12 x 1.75 x 25mm, Cl 10.9, Full Thd
5
157141A1
WASHER
Выбрано товаров: 0