Запчасти Case CX130B (09-55) - NAME PLATE INSTALLATION, (EXTERIOR LH) (09) - CHASSIS/ATTACHMENTS

Схема запчастей Case CX130B - (09-55) - NAME PLATE INSTALLATION, (EXTERIOR LH) (09) - CHASSIS/ATTACHMENTS
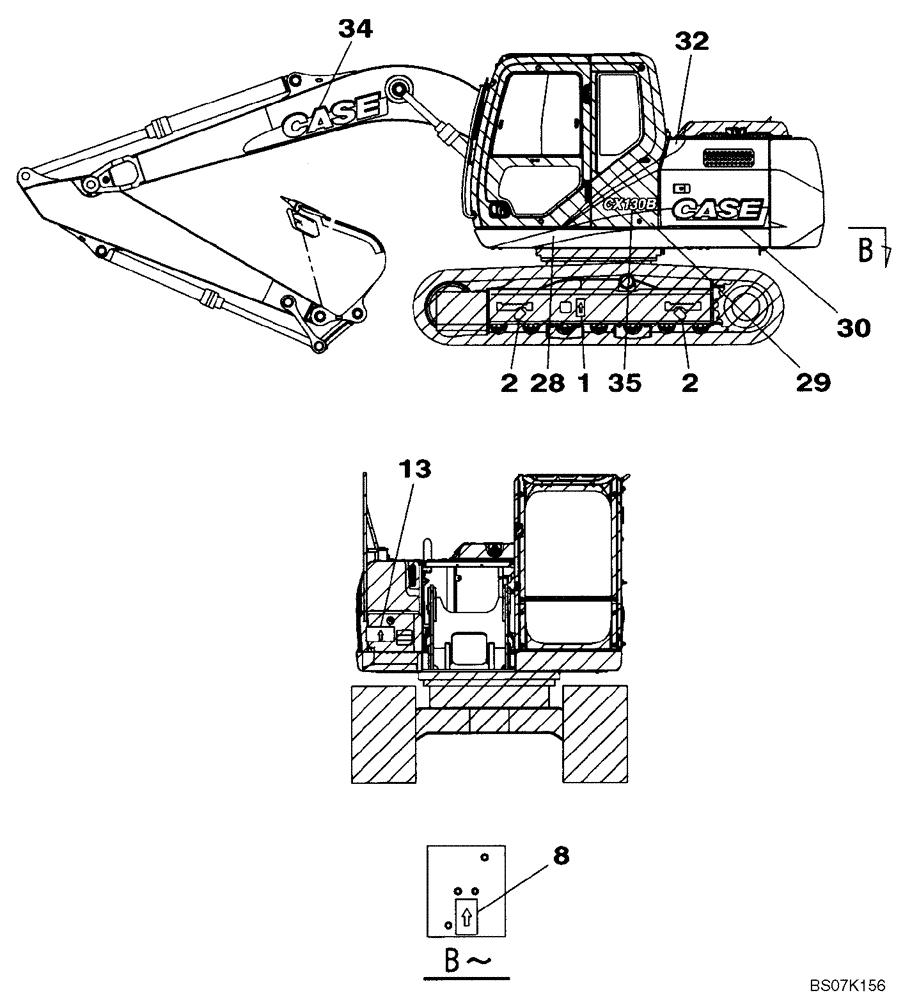
32
2
29
1
35
34
8
28
2
13
30
FIT
1:1
100%

Артикул

Название

Примечание

Количество

1

167327A1

WARNING DECAL

Warning

2шт.

2

KHP1722

ADHESIVE

1шт.

8

KHP1536

WARNING DECAL

Warning

1шт.

13

167324A1

WARNING DECAL

Warning

1шт.

28

KRP12540

DECAL

Stripe Left Side Cab

1шт.

29

KRP12550

DECAL

Stripe Left Side Cab

1шт.

30

KNP11070

DECAL

Case Logo, Left Side

1шт.

32

KHP12880

DECAL

Trim Left Side

1шт.

34

KNP0577

DECAL

Case Logo, Boom

1шт.

35

KNP11040

DECAL

CX130B

1шт.

35

84573908

DECAL

CX130B Logo - New Look

1шт.

Выбрано товаров: 11