Запчасти Case CX130B (09-62) - ARM, STANDARD - 2.5 M (8 FT 2 IN ) (09) - CHASSIS/ATTACHMENTS

Схема запчастей Case CX130B - (09-62) - ARM, STANDARD - 2.5 M (8 FT 2 IN ) (09) - CHASSIS/ATTACHMENTS
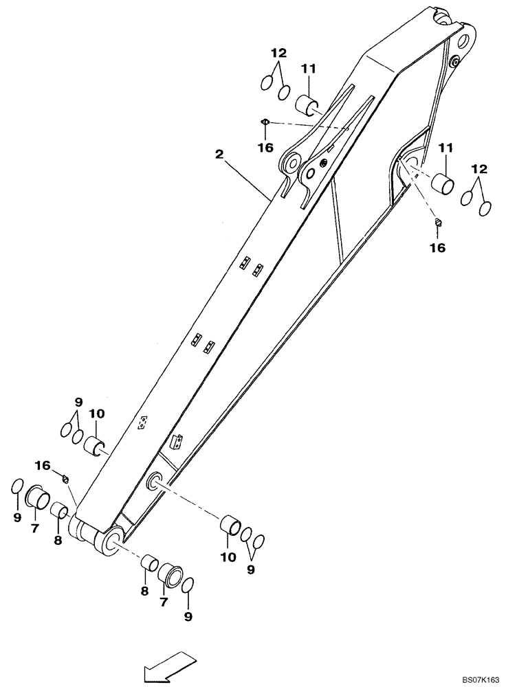
9
8
12
11
10
2
9
10
11
12
9
16
16
7
7
8
16
9
FIT
1:1
100%

Артикул

Название

Примечание

Количество

KNV16530

DIPPER

Incl. 7 - 12

1шт.

2

NSS

NOT SOLD SEPARAT

Arm

1шт.

7

KNV1130

BUSHING

2шт.

8

KNV17560

BUSHING

2шт.

9

160674A1

SEAL,65mm ID x 80mm OD x 5mm Thk

6шт.

10

KNV1138

BUSHING,65mm ID x 80mm OD x 50mm L

2шт.

11

KNV1144

SELF LUB RING

2шт.

12

160400A1

SEAL,75mm ID x 90mm OD x 5mm Thk

4шт.

16

153630A1

LUBE NIPPLE

3шт.

Выбрано товаров: 9