Качественные детали и логистика
Оригинальные и аналоговые запчасти с доставкой по России, Казахстану и Беларуси
©2022 PartSell ООО "Система" ИНН 2463123282 ОГРН 1212400004838
Центральный офис: г. Красноярск, Академика Киренского, д.87, пом.4
Телефон: 8 (800) 777-65-74 Email: zakaz@partsell.ru
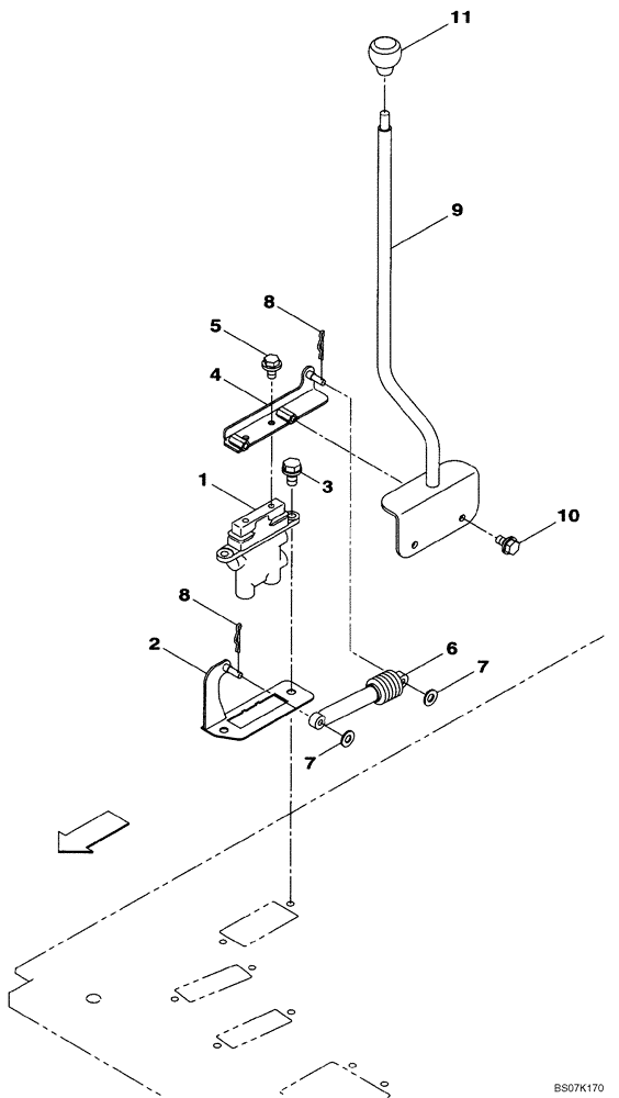
(09-73) - CONTROLS - BLADE, DOZER
№
Артикул
Название
Примечание
Количество
1
KHJ2279
REMOTE CONTROL VALVE
1шт.
2
KHJ17420
BRACKET
3
166351A1
BOLT,Sems, M10 x 20mm
2шт.
4
KHJ17430
5
166345A1
BOLT
6
167854A1
SHOCK ABSORBER
7
895-11008
WASHER,9mm ID x 16mm OD x 1.6mm Thk
8
153077A1
COTTER PIN
9
KHJ17410
CONTROL LEVER
10
KHN13540
BOLT,Spcl
11
168680A1
BALL KNOB
Выбрано товаров: 0