Запчасти Case CX130B (05-11) - TRACK CHAINS, 500 MM, SEAL - RUBBER (11) - TRACKS/STEERING

Схема запчастей Case CX130B - (05-11) - TRACK CHAINS, 500 MM, SEAL - RUBBER (11) - TRACKS/STEERING
4
11
8
15
10
13
7
11
5
12
13
14
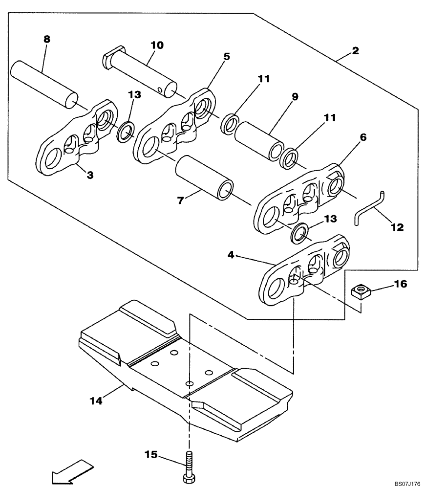
2
3
16
6
9
FIT
1:1
100%

Артикул

Название

Примечание

Количество

2

KNA11100

CHAIN (CE)

Incl. 2 - 13

2шт.

3

168860A1

LINK CHAIN

90шт.

4

168861A1

LINK CHAIN

90шт.

5

168862A1

LINK CHAIN

2шт.

6

168863A1

LINK CHAIN

2шт.

7

KNA10700

BUSHING

90шт.

8

KNA10870

PIN

90шт.

9

168646A1

BUSHING

2шт.

10

168866A1

PIN

2шт.

11

168867A1

COLLAR

4шт.

12

168650A1

COTTER PIN

1шт.

13

KNA10710

SEAL

180шт.

14

KMA1283

TRACK SHOE

500 mm (19-3/4 in)

92шт.

15

161062A1

BOLT,Spher Hex, M16 x 1.5 x 46mm

368шт.

16

161063A1

NUT

368шт.

Выбрано товаров: 15