Запчасти Case CX130B (05-12) - TRACK CHAINS, 500 MM, M SEAL - RUBBER (11) - TRACKS/STEERING

Схема запчастей Case CX130B - (05-12) - TRACK CHAINS, 500 MM, M SEAL - RUBBER (11) - TRACKS/STEERING
13
16
7
4
14
15
5
11
11
6
12
8
3
13
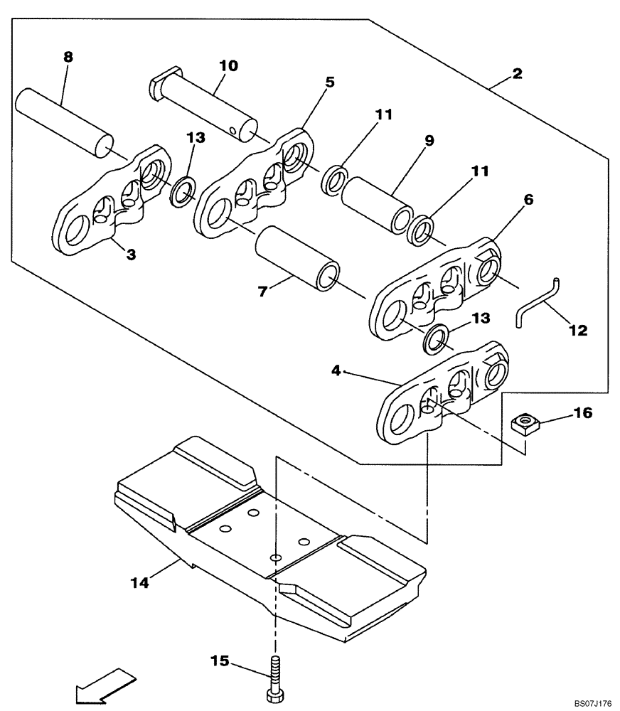
2
9
10
FIT
1:1
100%

Артикул

Название

Примечание

Количество

2

KNA10690

CHAIN (CE)

Incl. 2 - 13

1шт.

3

168860A1

LINK CHAIN

42шт.

4

168861A1

LINK CHAIN

42шт.

5

168862A1

LINK CHAIN

1шт.

6

168863A1

LINK CHAIN

1шт.

7

KNA10700

BUSHING

42шт.

8

KNA10870

PIN

42шт.

9

168646A1

BUSHING

1шт.

10

168866A1

PIN

1шт.

11

168867A1

COLLAR

2шт.

12

168650A1

COTTER PIN

1шт.

13

KNA10710

SEAL

84шт.

14

KMA1283

TRACK SHOE

500 mm (19-3/4 in)

43шт.

15

161062A1

BOLT,Spher Hex, M16 x 1.5 x 46mm

172шт.

16

161063A1

NUT

172шт.

Выбрано товаров: 15