Запчасти Case CX130B (05-17) - TRACK - ROLLER, LOWER (11) - TRACKS/STEERING

Схема запчастей Case CX130B - (05-17) - TRACK - ROLLER, LOWER (11) - TRACKS/STEERING
9
9
2
6
10
5
3
8
1
5
7
6
11
4
4
FIT
1:1
100%

Артикул

Название

Примечание

Количество

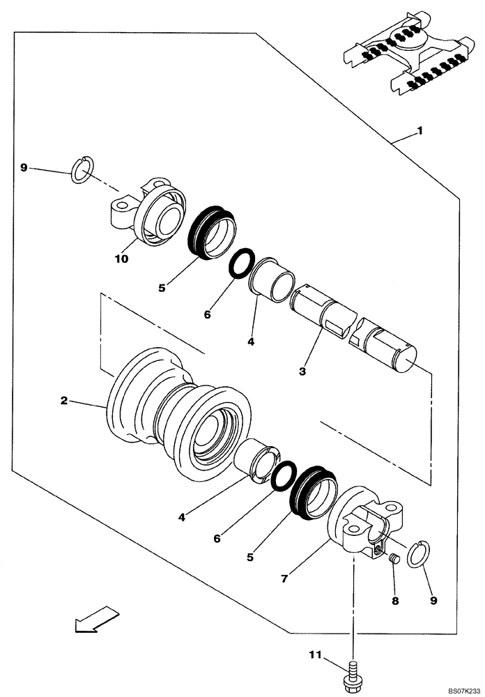
1

KNA10600

TRACK ROLLER

Incl. 2 - 10

14шт.

2

KNA10930

TRACK ROLLER

ROLLER TRACK

14шт.

3

KNA0707

SHAFT

Replaces KNA10940

14шт.

4

160695A1

RING

28шт.

5

152125A1

OIL SEAL

28шт.

6

154587A1

O-RING

28шт.

7

KNA0708

CASING, BEARING ROLL

14шт.

8

150821A1

PLUG

14шт.

9

160396A1

CLIP

28шт.

10

KNA0787

CASING, BEARING ROLL

14шт.

11

166349A1

BOLT,Sems, M16 x 65mm

56шт.

Выбрано товаров: 11