Запчасти Case CX130B (05-18) - TRACK - ROLLER, UPPER, OPTIONAL (11) - TRACKS/STEERING

Схема запчастей Case CX130B - (05-18) - TRACK - ROLLER, UPPER, OPTIONAL (11) - TRACKS/STEERING
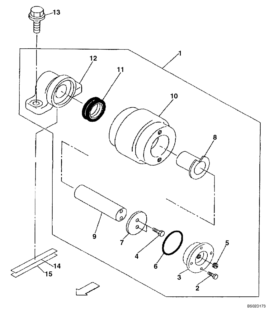
11
2
8
9
15
12
13
3
4
6
10
5
1
7
14
FIT
1:1
100%

Артикул

Название

Примечание

Количество

1

KMA1275

ROLLER ASSY.

Incl. 2 - 12

4шт.

2

628-8020

BOLT,Hex, M8 x 20, 10.9, Full Thd

8шт.

3

KMA1278

COVER

2шт.

4

626-10016

BOLT,Hex, M10 x 1.5 x 16mm, Cl 10.9, Full Thd

4шт.

5

150821A1

PLUG

2шт.

6

154657A1

O-RING

2шт.

7

KMA1285

PLATE

2шт.

8

KMA1270

BUSHING

2шт.

9

KMA1277

SPINDLE

2шт.

10

KMA1276

SHIFTER ROLLER

2шт.

11

KHA0038

SEAL

2шт.

12

KMA1279

CASING, BEARING ROLL

2шт.

13

166348A1

BOLT

8шт.

14

160672A1

SHIM

4шт.

15

163144A1

SHIM

4шт.

Выбрано товаров: 15