Запчасти Case CX130B (03-01) - FUEL TANK (03) - FUEL SYSTEM

Схема запчастей Case CX130B - (03-01) - FUEL TANK (03) - FUEL SYSTEM
6
7
20
12
17
11
14
8
5
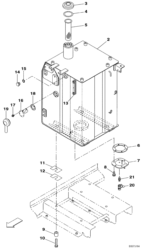
2
10
13
3
15
9
16
21
19
18
4
FIT
1:1
100%

Артикул

Название

Примечание

Количество

KNH10480

FUEL TANK

Incl. 2 - 8

1шт.

2

NSS

NOT SOLD SEPARAT

Tank

1шт.

3

150492A1

LOCKABLE FUEL CAP

Incl. 4

1шт.

4

163804A1

GASKET

1шт.

5

KHH10060

FILTER

Fuel

1шт.

6

150305A1

GASKET

1шт.

7

KRH12170

COVER

COVER, Bottom

1шт.

8

166052A1

BOLT

6шт.

9

153357A1

SPACER

4шт.

10

827-16070

BOLT,Hex, M16 x 2 x 70mm, Cl 10.9

4шт.

11

150166A1

SHIM

0,80 mm (0,032 in)

1шт.

12

150479A1

SHIM

2,00 mm (0,079 in)

1шт.

13

KHH12090

DIPSTICK

1шт.

14

152924A1

PLUG

1шт.

15

154503A1

O-RING

1шт.

16

KHR10670

SENSOR

1шт.

17

151688A1

SCREW,Phil Pan Hd, M5 x 12mm, W/ Wshr

5шт.

18

152591A1

GASKET,2mm Thk

1шт.

19

159698A1

COVER

1шт.

20

158923A1

DRAIN VALVE

1шт.

21

150847A1

HYD CONNECTOR

1шт.

20

157929A1

FITTING

1шт.

Выбрано товаров: 22