Качественные детали и логистика
Оригинальные и аналоговые запчасти с доставкой по России, Казахстану и Беларуси
©2022 PartSell ООО "Система" ИНН 2463123282 ОГРН 1212400004838
Центральный офис: г. Красноярск, Академика Киренского, д.87, пом.4
Телефон: 8 (800) 777-65-74 Email: zakaz@partsell.ru
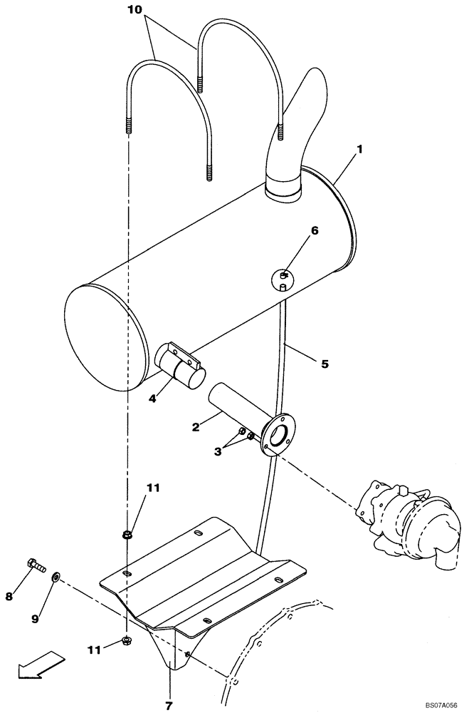
(02-04) - EXHAUST SYSTEM - MUFFLER
№
Артикул
Название
Примечание
Количество
1
KLH10140
MUFFLER
1шт.
2
KLH10390
EXHAUST SYSTEM PIPE
3
829-1408
NUT,Hex, M8 x 1.25, Cl 10.9
6шт.
4
KEH0326
CLAMP
5
157478A1
TUBE
6
165952A1
MOUNTING CLIP
7
KLH10400
BRACKET
8
627-10035
BOLT,Hex, M10 x 1.5 x 35mm, Cl 10.9, Full Thd
3шт.
9
150409A1
WASHER
10
KHH11390
U-BOLT
BOLT "U"
2шт.
11
KHH11440
FLANGE NUT
8шт.
Выбрано товаров: 0