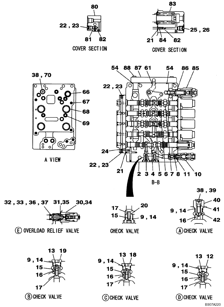
Запчасти Case CX160B (08-58) - KLJ10580 VALVE ASSY - CONTROL (08) - HYDRAULICS

Схема запчастей Case CX160B - (08-58) - KLJ10580 VALVE ASSY - CONTROL (08) - HYDRAULICS
9
4
67
9
7
22
15
38
19
21
37
3
34
26
54
16
18
85
70
25
40
17
23
15
14
13
32
14
22
88
69
86
21
81
15
20
35
14
39
5
66
36
87
23
13
82
42
8
10
68
24
9
31
41
17
61
14
16
82
16
2
15
38
30
11
83
14
22
17
6
23
17
9
9
13
33
12
80
84
54
16
FIT
1:1
100%

Артикул

Название

Примечание

Количество

KLJ10581

CONTROL VALVE

Includes All Parts On Figures 08-57 - 08-60, Replaces KLJ10580

1шт.

2

NSS

NOT SOLD SEPARAT

Housing, Valve

1шт.

3

NSS

NOT SOLD SEPARAT

Spool

1шт.

4

NSS

NOT SOLD SEPARAT

Spool

1шт.

5

NSS

NOT SOLD SEPARAT

Spool

1шт.

6

NSS

NOT SOLD SEPARAT

Spool

1шт.

7

NSS

NOT SOLD SEPARAT

Spool

1шт.

8

160806A1

O-RING

5шт.

9

154495A1

O-RING

6шт.

10

LJ00800

VALVE, PRESSURE RELI

EF Incl. 11

1шт.

11

154495A1

O-RING

1шт.

12

LR01104

CAP

1шт.

13

155920A1

VALVE, CHECK

3шт.

14

153976A1

BACK-UP RING

6шт.

15

156027A1

SPRING

5шт.

16

155295A1

BALL

4шт.

17

LJ014920

VALVE PRESSURE RELIE

5шт.

18

LR015550

PLUG

1шт.

19

160918A1

CAP

1шт.

20

LR015560

PLUG

2шт.

21

154463A1

O-RING

2шт.

22

160902A1

CAP

3шт.

23

154455A1

O-RING

3шт.

24

160805A1

O-RING

5шт.

25

160306A1

CAP

1шт.

26

154467A1

O-RING,10.8mm ID x 2.4mm Width

1шт.

30

LJ00704

POPPET

Incl. 31 - 33

3шт.

31

154495A1

O-RING

1шт.

32

154402A1

BACK-UP RING

1шт.

33

155063A1

O-RING

1шт.

34

LJ00704

POPPET

Incl. 35 - 37

1шт.

35

154495A1

O-RING

1шт.

36

154402A1

BACK-UP RING

1шт.

37

155063A1

O-RING

1шт.

38

156263A1

CAP

2шт.

39

154475A1

O-RING

1шт.

40

LR00561

CAP

1шт.

41

160947A1

SPRING

1шт.

42

LJ00705

CHECK VALVE

1шт.

54

154523A1

O-RING

2шт.

61

154487A1

O-RING

1шт.

66

154525A1

O-RING

1шт.

67

154465A1

O-RING

6шт.

68

LBQ7222

O-RING

4шт.

69

154489A1

O-RING

11шт.

70

154477A1

O-RING

1шт.

80

LW005170

CAP

1шт.

81

LK005720

PLUG

3шт.

82

LX00007

BALL

5шт.

83

LW005180

CAP

2шт.

84

LK005730

PLUG

2шт.

85

LJ014960

VALVE PRESSURE RELIE

Incl. 86

1шт.

86

154523A1

O-RING

1шт.

87

LR015620

PLATE

1шт.

88

861-10035

HEX SOC SCREW,M10 x 35mm, Cl 12.9

4шт.

Выбрано товаров: 55