Запчасти Case CX160B (08-59) - KLJ10580 VALVE ASSY - CONTROL (08) - HYDRAULICS

Схема запчастей Case CX160B - (08-59) - KLJ10580 VALVE ASSY - CONTROL (08) - HYDRAULICS
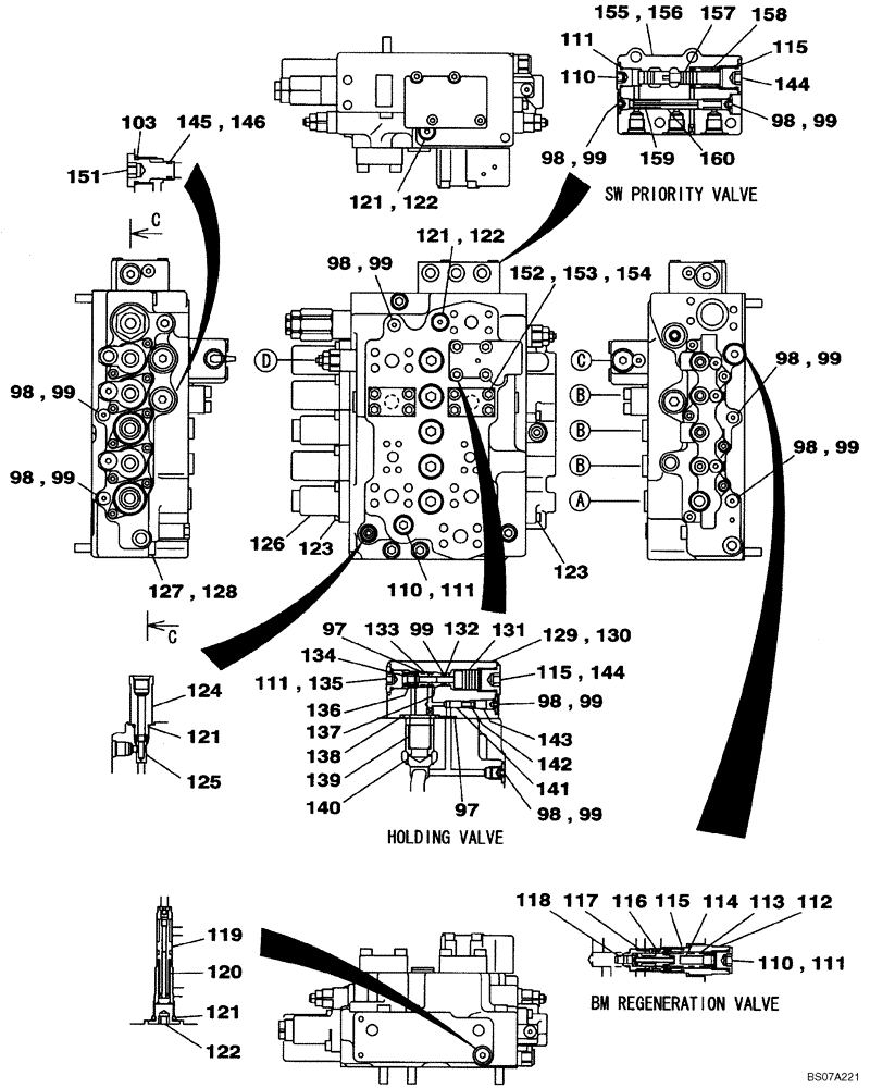
124
139
99
99
155
156
159
158
143
126
123
137
122
111
113
115
117
145
121
154
110
98
99
98
98
121
111
98
130
160
153
122
128
138
99
99
118
142
111
98
111
125
144
99
121
99
97
99
146
115
144
122
99
98
141
98
134
119
116
110
135
121
136
152
115
127
98
123
103
151
157
98
110
140
99
112
132
131
129
120
114
133
97
FIT
1:1
100%

Артикул

Название

Примечание

Количество

KLJ10581

CONTROL VALVE

Includes All Parts On Figures 08-57 - 08-60, Replaces KLJ10580

1шт.

97

154463A1

O-RING

2шт.

98

160902A1

CAP

14шт.

99

154455A1

O-RING

15шт.

103

154495A1

O-RING

2шт.

110

156263A1

CAP

3шт.

111

154475A1

O-RING

4шт.

112

LR015590

PLUG

1шт.

113

LG00325

COMPRESSION SPRING

1шт.

114

LS003420

GUIDE

1шт.

115

154487A1

O-RING

3шт.

116

LJ014970

SPOOL

1шт.

117

LH005000

SLEEVE

1шт.

118

160906A1

PISTON

1шт.

119

LJ014980

SPOOL

1шт.

120

LG006150

SPRING

1шт.

121

154467A1

O-RING,10.8mm ID x 2.4mm Width

6шт.

122

160306A1

CAP

5шт.

123

108R008Z025B

BOLT

16шт.

124

LB012000

BUSHING

1шт.

125

LJ014990

ORIFICE

1шт.

126

LW005150

CAP

2шт.

127

863-12100

HEX SOC SCREW,M12 x 100mm, Cl 12.9

4шт.

128

892-10012

LOCK WASHER,M12

4шт.

129

LW005160

CAP

Valve Body (Assy not service - order individual parts)

1шт.

130

861-10060

HEX SOC SCREW,M10 x 60mm, Cl 12.9

4шт.

131

LJ014930

PISTON

1шт.

132

153946A1

BACK-UP RING

1шт.

133

153952A1

BACK-UP RING

1шт.

134

LG00323

COMPRESSION SPRING

1шт.

135

LR00560

CAP

1шт.

136

LJ00702

VALVE POPPET

1шт.

137

LH00239

SLEEVE

1шт.

138

154523A1

O-RING

1шт.

139

160948A1

SPRING

1шт.

140

160914A1

VALVE POPPET

1шт.

141

155915A1

VALVE

1шт.

142

LG006120

SPRING

1шт.

143

LH00240

SPACER

1шт.

144

160903A1

CAP

2шт.

145

155063A1

O-RING

2шт.

146

154402A1

BACK-UP RING

2шт.

151

LR00564

CAP

2шт.

152

LH005010

FLANGE

2шт.

153

155210A1

O-RING

2шт.

154

861-10035

HEX SOC SCREW,M10 x 35mm, Cl 12.9

8шт.

155

LJ015000

MANIFOLD VALVE

1шт.

156

863-8050

HEX SOC SCREW,M8 x 50mm, Cl 12.9

4шт.

157

LJ00707

SPOOL

1шт.

158

LG00324

COMPRESSION SPRING

1шт.

159

LG00329

COMPRESSION SPRING

1шт.

160

LJ00714

SPOOL

1шт.

Выбрано товаров: 52