Запчасти Case CX160B (08-61) - KLJ10590 VALVE ASSY - CONTROL (08) - HYDRAULICS

Схема запчастей Case CX160B - (08-61) - KLJ10590 VALVE ASSY - CONTROL (08) - HYDRAULICS
25
46
43
26
47
22
28
61
38
74
39
57
73
22
54
44
52
75
21
23
78
77
26
30
39
61
76
48
60
72
62
29
59
61
39
65
21
50
51
58
23
56
10
26
49
22
71
63
54
55
25
27
53
85
34
60
64
23
23
43
38
45
79
FIT
1:1
100%

Артикул

Название

Примечание

Количество

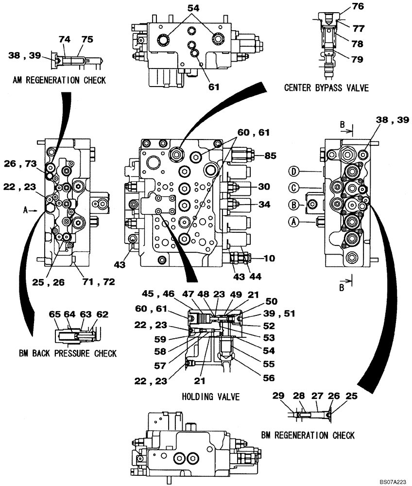
KLJ10591

CONTROL VALVE

Includes All Parts On Figures 08-61 - 08-65, Replaces KLJ10590

1шт.

10

LJ00800

VALVE, PRESSURE RELI

EF

1шт.

21

154463A1

O-RING

2шт.

22

160902A1

CAP

3шт.

23

154455A1

O-RING

4шт.

25

160306A1

CAP

2шт.

26

154467A1

O-RING,10.8mm ID x 2.4mm Width

3шт.

27

LH00237

SPACER

1шт.

28

LG00322

COMPRESSION SPRING

1шт.

29

LJ00700

CHECK VALVE

1шт.

30

LJ00704

POPPET

See Figure 08-62

3шт.

34

LJ00704

POPPET

See Figure 08-62

1шт.

38

156263A1

CAP

4шт.

39

154475A1

O-RING

3шт.

43

108R008Z025B

BOLT

16шт.

44

LW005150

CAP

3шт.

45

LW005160

CAP

Valve Body (Assy not service - order individual parts)

1шт.

46

861-10060

HEX SOC SCREW,M10 x 60mm, Cl 12.9

4шт.

47

LJ014930

PISTON

1шт.

48

153946A1

BACK-UP RING

1шт.

49

153952A1

BACK-UP RING

1шт.

50

LG00323

COMPRESSION SPRING

1шт.

51

LR00560

CAP

1шт.

52

LJ00702

VALVE POPPET

1шт.

53

LH00239

SLEEVE

1шт.

54

154523A1

O-RING

1шт.

55

160948A1

SPRING

1шт.

56

160914A1

VALVE POPPET

1шт.

57

155915A1

VALVE

1шт.

58

LG006120

SPRING

1шт.

59

LH00240

SPACER

1шт.

60

160903A1

CAP

3шт.

61

154487A1

O-RING

6шт.

62

LJ014940

VALVE PRESSURE RELIE

1шт.

63

155222A1

O-RING

1шт.

64

LG006130

SPRING

1шт.

65

LR015570

PLUG

1шт.

71

863-12100

HEX SOC SCREW,M12 x 100mm, Cl 12.9

4шт.

72

892-10012

LOCK WASHER,M12

4шт.

73

LB012000

BUSHING

1шт.

74

LG00326

COMPRESSION SPRING

1шт.

75

LJ00710

CHECK VALVE

1шт.

76

LR015580

PLUG

1шт.

77

164739A1

O-RING

1шт.

78

LG006140

SPRING

1шт.

79

LJ014950

SPOOL

1шт.

Выбрано товаров: 46