Запчасти Case CX160B (09-02) - TURNTABLE (09) - CHASSIS/ATTACHMENTS

Схема запчастей Case CX160B - (09-02) - TURNTABLE (09) - CHASSIS/ATTACHMENTS
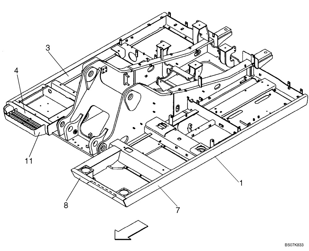
8
4
11
1
3
7
FIT
1:1
100%

Артикул

Название

Примечание

Количество

1

KLB10470

FRAME

Revolving P.I.N. N7SAF1101 - N7SAF1221

1шт.

1

KLB10750

FRAME

Revolving P.I.N. N7SAF1222 - N7SAF1266

1шт.

1

KLB10780

FRAME

FRAME, Revolving P.I.N. N7SAF1267 - After

1шт.

1

KLB11050

FRAME

For ROPS Cab Only

1шт.

3

KBB11100

SIDE MEMBER,3510mm L

PLATE FORMED, RIGHT SIDE, May Need To Be Cut To Length

1шт.

4

KRB10330

SIDE MEMBER

PLATE FORMED, RIGHT FRONT, May Need To Be Cut To Length

1шт.

7

KBB11060

SIDE MEMBER,4098mm L

PLATE FORMED, LEFT SIDE, May Need To Be Cut To Length

1шт.

8

KRB12700

SIDE MEMBER

PLATE FORMED, LEFT FRONT

1шт.

11

KNB11320

STEP

1шт.

Выбрано товаров: 9