Запчасти Case CX160B (09-04) - COUNTERWEIGHT - SOUNDPROOFING (09) - CHASSIS/ATTACHMENTS

Схема запчастей Case CX160B - (09-04) - COUNTERWEIGHT - SOUNDPROOFING (09) - CHASSIS/ATTACHMENTS
5
8
2
4
3
1
7
6
FIT
1:1
100%

Артикул

Название

Примечание

Количество

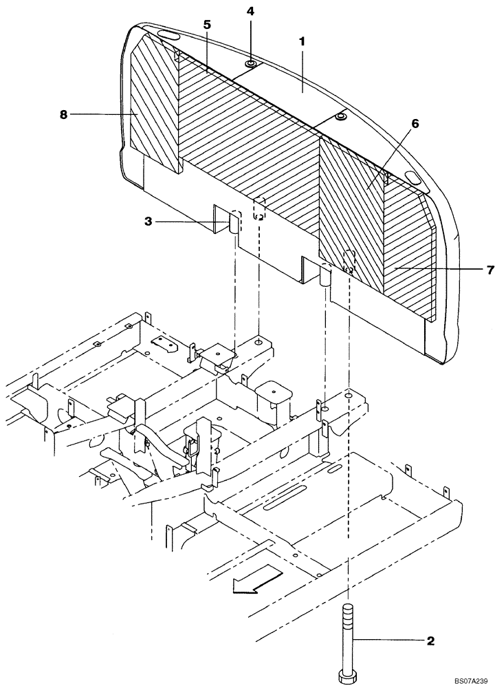
1

KLB10450

WEIGHT PACKAGE

1шт.

2

KHB10390

BOLT

4шт.

1

Counterweight Lifting Eye Not Serviced - Thread size M36 pitch 4.0mm - length 65mm

1шт.

3

KRB10590

SPACER

4шт.

4

150129A1

PLUG

2шт.

5

KLB10540

NOISE PROTECTION

1шт.

6

KLB10550

NOISE PROTECTION

1шт.

7

KLB10560

NOISE PROTECTION

1шт.

8

KLB10570

NOISE PROTECTION

1шт.

Выбрано товаров: 9