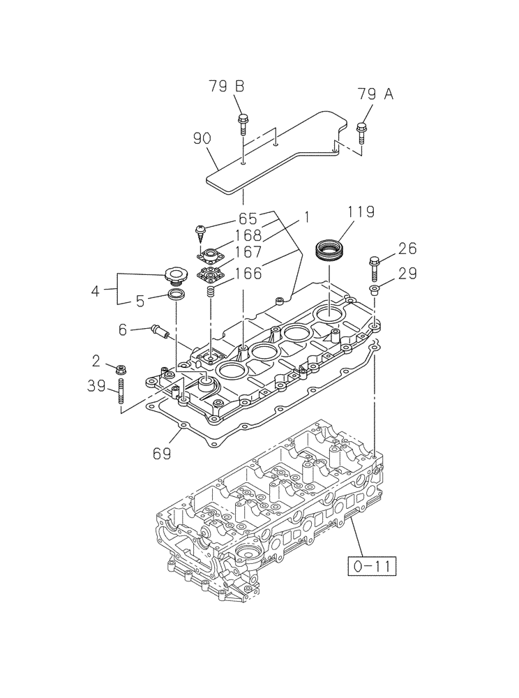
Запчасти Case CX160B (02-08) - COVER- CYLINDER HEAD - UNTIL DAC160K5NBSAF1746 (02) - ENGINE

Схема запчастей Case CX160B - (02-08) - COVER- CYLINDER HEAD - UNTIL DAC160K5NBSAF1746 (02) - ENGINE
2
79b
168
39
167
65
1
79a
29
5
4
0-11
119
166
26
6
90
69
FIT
1:1
100%

Артикул

Название

Примечание

Количество

0-11

REF

INSTRUCTION

1шт.

See Figure(s) 02-011-01 01

1шт.

1

84142256

VALVE COVER

1шт.

Include(s) 65, 166 - 168

1шт.

2

87595267

NUT

1шт.

4

353965A1

FILLER CAP

1шт.

Include(s) 5

1шт.

5

353966A1

GASKET

2шт.

6

87595269

PIPE

1шт.

26

87595272

BOLT

13шт.

29

87595273

RUBBER SEAL

14шт.

39

87595274

STUD

1шт.

65

87595289

ADJUSTMENT SCREW,Hex, M12 x 1.25 x 70mm, Cl 8.8

4шт.

69

87595291

GASKET

1шт.

79a

87595292

BOLT

1шт.

79b

87595323

BOLT

2шт.

90

87595356

COVER

1шт.

119

87595387

COVER

4шт.

167

87595390

DIAPHRAGM

1шт.

168

87595391

COVER

1шт.

Выбрано товаров: 20