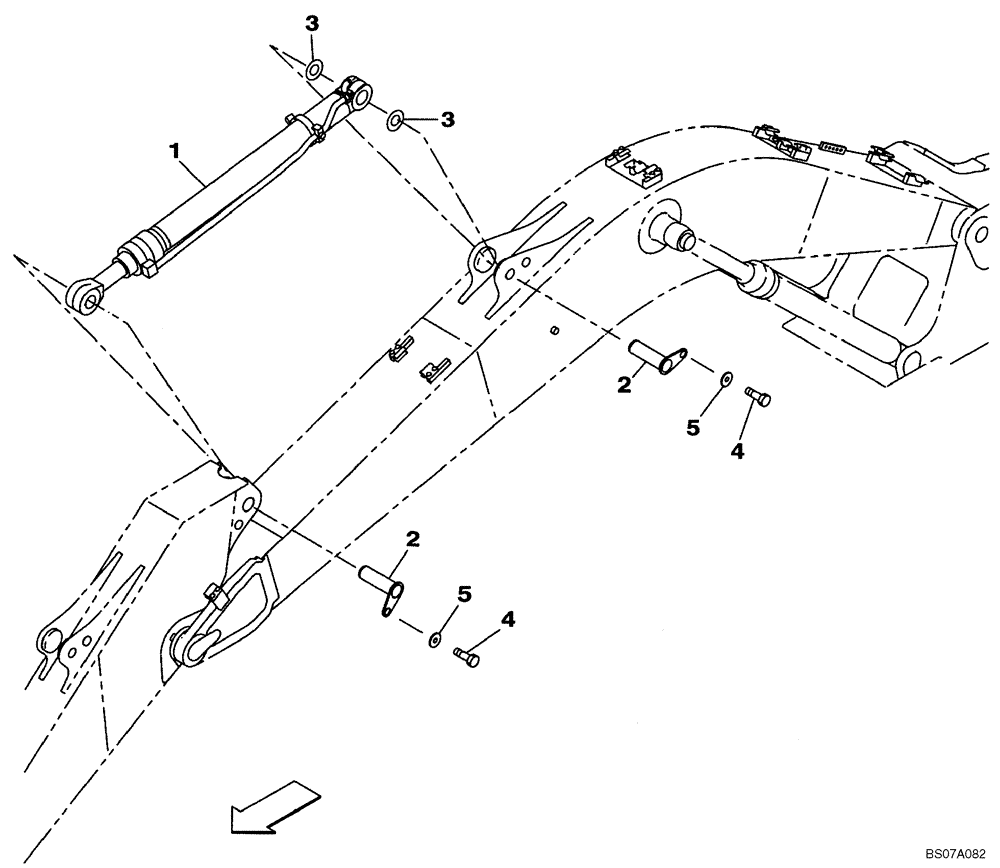
Запчасти Case CX160B (09-39) - ARM CYLINDER - MOUNTING (09) - CHASSIS/ATTACHMENTS

Схема запчастей Case CX160B - (09-39) - ARM CYLINDER - MOUNTING (09) - CHASSIS/ATTACHMENTS
2
4
1
2
3
3
5
4
5
FIT
1:1
100%

Артикул

Название

Примечание

Количество

1

KLV11040

HYDRAULIC CYLINDER

Arm; See Figure 08-85

1шт.

1

KLV11040R

REMAN-HYD CYLINDER

CX160B CRAWLER EXCAVATOR TIER 3 (NA), Arm (1/07-)

1шт.

1

KLV11040C

CORE-HYD CYLINDER

Return Number

1шт.

2

KLV11290

PIN

2шт.

3

159741A1

SHIM

2шт.

4

627-12025

BOLT,Hex, M12 x 1.75 x 25mm, Cl 10.9, Full Thd

2шт.

5

157141A1

WASHER

2шт.

Выбрано товаров: 7