Запчасти Case CX160B (05-02) - GUIDE, CHAIN (11) - TRACKS/STEERING

Схема запчастей Case CX160B - (05-02) - GUIDE, CHAIN (11) - TRACKS/STEERING
FIT
1:1
100%

Артикул

Название

Примечание

Количество

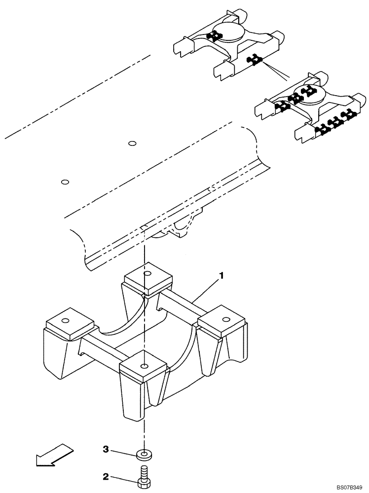
1

KRA13360

GUIDE

Replaces KRA12140

2-6шт.

2

167067A1

SCREW,High Strength, M18 x 60mm

8-24шт.

3

157546A1

WASHER,19mm ID x 36mm OD x 4.5mm Thk

8-24шт.

Выбрано товаров: 3