Запчасти Case CX160B (05-07) - TRACK - ADJUSTER (11) - TRACKS/STEERING

Схема запчастей Case CX160B - (05-07) - TRACK - ADJUSTER (11) - TRACKS/STEERING
5
16
10
12
3
7
14
4
22
6
13
8
15
9
18
15
1
14
21
2
11
13
17
19
20
FIT
1:1
100%

Артикул

Название

Примечание

Количество

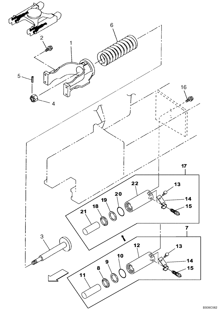
1

KLA0152

FORK

2шт.

2

165929A1

BOLT,Sems, M16

8шт.

3

KLA10500

THREADED ROD

2шт.

4

283647A1

SLOTTED NUT

1шт.

5

738-1880

LOCK PIN,8mm OD x 80mm L, Slotted

2шт.

6

KLA10040

COIL SPRING

2шт.

7

KBA1118

CYLINDER

Track Adjuster; Incl. 8 - 15, Serial Range: -N8SAF1424

2шт.

8

151686A1

SEAL,70mm ID x 84mm OD x 11mm Thk

1шт.

9

KHA10100

BACK-UP RING

OD 79.6mm - ID 70mm - Thk 1.9mm

1шт.

10

150271A1

O-RING

1шт.

11

KBA1119

JACK PISTON

1шт.

12

KBA1120

HYD CYL SLEEVE

OD 118mm - ID 83mm - L=340mm

1шт.

13

166351A1

BOLT,Sems, M10 x 20mm

1шт.

14

KBA1121

BRACKET

1шт.

15

150107A1

LUBE NIPPLE

1шт.

16

165930A1

BOLT,Sems, M16 x 55mm

1шт.

17

KRA12850

CYLINDER

Incl. 13, 14, 15, 18 - 22, Start Serial: N8SAF1424

2шт.

18

151686A1

SEAL,70mm ID x 84mm OD x 11mm Thk

1шт.

19

KRA12860

GASKET

OD 70.3mm - ID 55.4mm - Thk 6.25mm

1шт.

20

800-1155

RETAINER,55mm ID

1шт.

21

KRA12880

PISTON ROD

1шт.

22

KRA12890

HYD CYL SLEEVE

1шт.

Выбрано товаров: 22