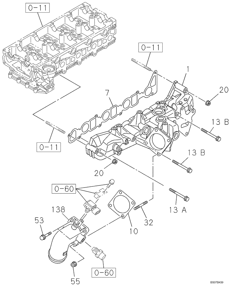
Запчасти Case CX160B (02-21) - INTAKE PIPE (02) - ENGINE

Схема запчастей Case CX160B - (02-21) - INTAKE PIPE (02) - ENGINE
20
1
0-60
138
13b
0-11
7
0-60
55
20
13b
10
13a
0-11
32
53
0-11
FIT
1:1
100%

Артикул

Название

Примечание

Количество

0-11

REF

INSTRUCTION

See Figure 02-10

1шт.

0-60

REF

INSTRUCTION

See Figire 04-02

1шт.

1

87597656

INLET MANIFOLD

1шт.

7

87597657

GASKET

1шт.

10

87597658

GASKET

1шт.

13a

87596527

BOLT

4шт.

13b

87597677

BOLT

2шт.

20

87595428

NUT

2шт.

32

87597678

STUD

2шт.

53

87595272

BOLT

2шт.

55

87597680

NUT

2шт.

138

87597681

PIPE

1шт.

Выбрано товаров: 12