Запчасти Case CX160B (03-06) - FUEL FILTER (03) - FUEL SYSTEM

Схема запчастей Case CX160B - (03-06) - FUEL FILTER (03) - FUEL SYSTEM
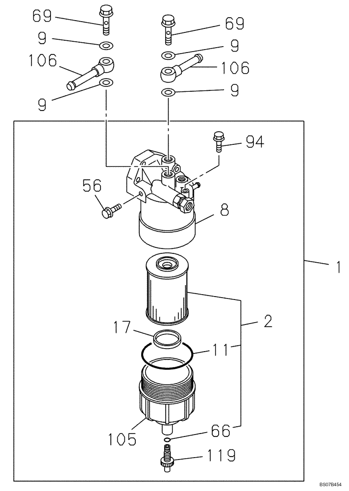
8
94
9
1
106
119
56
11
66
17
69
9
9
9
69
106
2
105
FIT
1:1
100%

Артикул

Название

Примечание

Количество

1

87379042

FILTER ASSY

Incl. 2, 8, 17, 56, 94, 105, 119

1шт.

2

87365565

FUEL FILTER

Incl. 11, 66

1шт.

8

87596942

FILTER COVER

1шт.

9

426200A1

GASKET

4шт.

11

87379063

GASKET

1шт.

17

87379072

FLOAT

1шт.

56

87596955

PLUG

1шт.

66

87379078

PLUG

1шт.

69

87379797

BOLT

2шт.

94

87596944

BOLT

1шт.

105

87596956

FILTER BOWL

1шт.

106

87379793

SUCTION PIPE

2шт.

119

87386020

PLUG

1шт.

Выбрано товаров: 13