Запчасти Case CX160B (04-06) - HARNESS, MAIN - RELAY PANEL (04) - ELECTRICAL SYSTEMS

Схема запчастей Case CX160B - (04-06) - HARNESS, MAIN - RELAY PANEL (04) - ELECTRICAL SYSTEMS
54
51
47
48
79
55
43
61
46
42
50
82
84
83
53
45
41
49
54
44
52
52
44
60
55
FIT
1:1
100%

Артикул

Название

Примечание

Количество

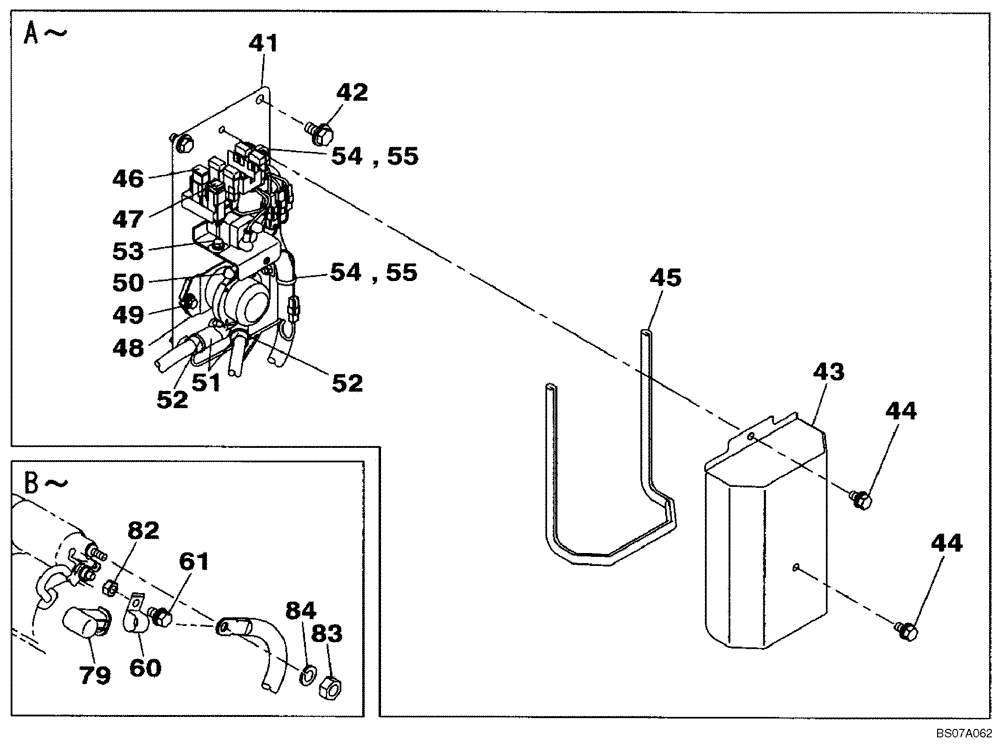
41

KHR14980

BRACKET

1шт.

42

152718A1

BOLT,Spcl, Hex Wshr, M12 x 25mm, Cl 10.9

4шт.

43

KHR19120

COVER

Replaces KHR14991

1шт.

44

KHJ1215

BOLT,Spcl

Replaces 167518A1

2шт.

45

KHN18060

SEAL PROTECTION

1шт.

46

159902A1

FUSE

65A fuse - starter

1шт.

47

KHR3850

FUSE

1шт.

48

159897A1

RELAY

1шт.

49

KHJ1215

BOLT,Spcl

2шт.

50

159171A1

CAP

2шт.

51

162212A1

TERMINAL CONNECTOR

2шт.

52

150067A1

MOUNTING CLIP

2шт.

53

167518A1

BOLT

2шт.

54

KHR2584

CLAMP

2шт.

55

KHJ1215

BOLT,Spcl

2шт.

60

KHR10220

MOUNTING CLIP

1шт.

61

167518A1

BOLT

1шт.

79

KHR4114

PROTECTOR

1шт.

82

829-1408

NUT,Hex, M8 x 1.25, Cl 10.9

1шт.

83

829-1408

NUT,Hex, M8 x 1.25, Cl 10.9

1шт.

84

183-108VR

SPRING WASHER

1шт.

Выбрано товаров: 21