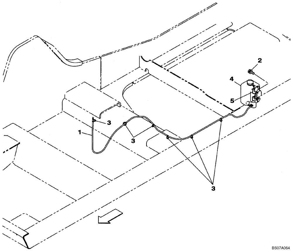
Запчасти Case CX160B (04-16) - WINDSHIELD WASHER (04) - ELECTRICAL SYSTEMS

Схема запчастей Case CX160B - (04-16) - WINDSHIELD WASHER (04) - ELECTRICAL SYSTEMS
3
3
4
3
5
2
1
FIT
1:1
100%

Артикул

Название

Примечание

Количество

1

156911A1

PLASTIC-RUBBER TUBE,7 mm ID, 4 mm OD, 2000 mm Length

2000 mm (78-3/4 in); Cut From 162127A1

1шт.

2

156559A1

BOLT,High Strength, Hex, M6 x 12mm, W/ LW

Replaces 159602A1

4шт.

3

150496A1

MOUNTING CLIP

250 mm (10 in)

6шт.

4

KHR2261

RESERVOIR

Was KHR3261

1шт.

5

KLR10400

BRACKET

1шт.

Выбрано товаров: 5