Запчасти Case CX210B (08-55) - HYDRAULICS - JOINT, SWIVEL CENTER (08) - HYDRAULICS

Схема запчастей Case CX210B - (08-55) - HYDRAULICS - JOINT, SWIVEL CENTER (08) - HYDRAULICS
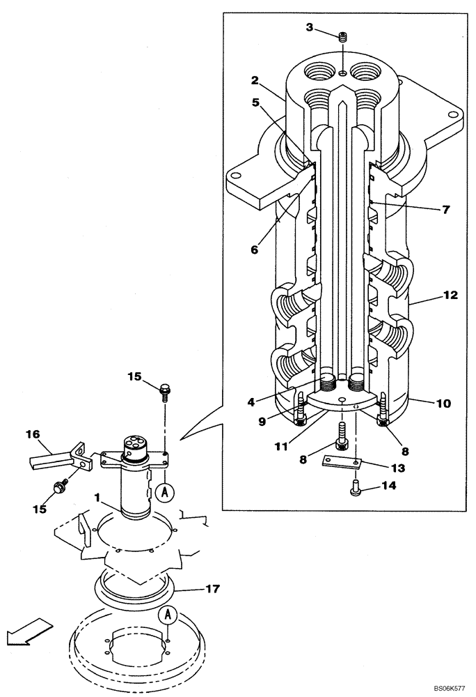
11
8
12
10
7
9
3
14
4
2
17
15
6
16
5
8
13
15
1
FIT
1:1
100%

Артикул

Название

Примечание

Количество

1

KRA11190

HYDRAULIC SWIVEL

Incl. 2 - 14

1шт.

1

KRA11190R

REMAN-HYDRAULIC SWIV

CX210B CRAWLER EXCAVATOR TIER 3 (NA) (1/07-)

1шт.

1

KRA11190C

CORE-HYDRAULIC SWIV

Return Number

1шт.

2

KRA11200

HOUSING

Incl. 3, 4

1шт.

3

150821A1

PLUG

1шт.

4

150829A1

PLUG

4шт.

5

151814A1

SEAL,72mm ID x 84mm OD x 11mm Thk

1шт.

6

KHA10130

O-RING

Replaces 154688A1

1шт.

7

168295A1

SEALING RING,80mm ID x 90mm OD x 4.8mm Thk

SEALRING

7шт.

8

862-8025

HEX SOC SCREW,M8 x 25mm, Cl 12.9

8шт.

9

154721A1

O-RING,99.4mm ID x 3.1mm Width

1шт.

10

KRA1874

COVER

1шт.

11

KRA10380

THRUST PLATE

1шт.

12

KRA1872

ROTOR

1шт.

13

152593A1

TYPE PLATE

1шт.

14

301-1413

DRIVE SCREW,Drive, #2 x 3/16"

2шт.

15

166352A1

BOLT

6шт.

16

KRA11210

LOCKING BAR

1шт.

17

KRA11090

SEALING RING

SEALRING

1шт.

Выбрано товаров: 19