Запчасти Case CX210B (08-67) - KRJ16011 VALVE ASSY - CONTROL (08) - HYDRAULICS

Схема запчастей Case CX210B - (08-67) - KRJ16011 VALVE ASSY - CONTROL (08) - HYDRAULICS
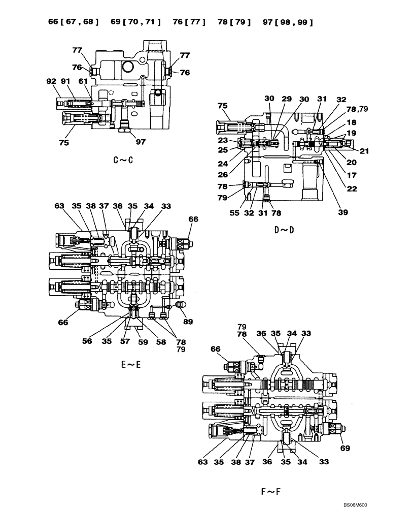
75
25
36
36
30
18
79
23
34
77
78
61
35
78
38
76
59
78
32
57
56
34
75
66
35
21
58
55
24
77
78
79
31
33
66
37
79
69
37
30
78
29
33
39
63
63
38
36
31
20
32
92
91
26
34
19
33
35
35
35
35
17
79
97
89
22
76
66
FIT
1:1
100%

Артикул

Название

Примечание

Количество

KRJ16011

CONTROL VALVE

Includes All Parts On Figures 08-64 - 08-69, Replaces KRJ16010

1шт.

17

LR015250

CAP

1шт.

18

NSS

NOT SOLD SEPARAT

Spool, Valve

1шт.

19

163393A1

SPRING SEAT

2шт.

20

LG00338

SPRING

1шт.

21

LPC0222

END FITTING

1шт.

22

154514A1

O-RING

1шт.

23

LK005690

PLUG

1шт.

24

154503A1

O-RING

1шт.

25

LG00339

SPRING

1шт.

26

LJ014690

SPOOL,Regeneration

1шт.

29

154483A1

O-RING

1шт.

30

153967A1

BACK-UP RING

2шт.

31

LJ00726

VALVE POPPET

2шт.

32

LG00340

SPRING

2шт.

33

LJ00727

VALVE POPPET

3шт.

34

LG00341

SPRING

3шт.

35

154539A1

O-RING

6шт.

36

LH00248

CAP

3шт.

37

163390A1

VALVE POPPET

2шт.

38

163394A1

SPRING

2шт.

39

LJ00731

ORIFICE

1шт.

55

LH004970

SPACER

1шт.

56

LH004980

SLEEVE

1шт.

57

160187A1

VALVE POPPET

1шт.

58

160242A1

SPRING

1шт.

59

LH004990

FLANGE

1шт.

61

LE014890

O-RING,3.53mm Thk x 25.7mm ID, Cl 6

1шт.

63

LJ014710

VALVE SECTION

2шт.

66

LJ014730

VALVE PRESSURE RELIE

See Figure 08-69

3шт.

69

LJ014740

VALVE PRESSURE RELIE

See Figure 08-69

1шт.

75

LJ014700

VALVE PRESSURE RELIE

2шт.

76

163370A1

PLUG

Incl. 77

2шт.

77

154487A1

O-RING

1шт.

78

163369A1

PLUG

Incl. 79

6шт.

79

154475A1

O-RING

1шт.

91

NSS

NOT SOLD SEPARAT

Spool

1шт.

92

LR015290

CAP

1шт.

97

LK00302

PLUG

1шт.

Выбрано товаров: 39