Запчасти Case CX210B (08-74) - VALVE, SOLENOID - MULTI-PURPOSE + 3 WAY VALVE, PEDAL ACTIVATED (08) - HYDRAULICS

Схема запчастей Case CX210B - (08-74) - VALVE, SOLENOID - MULTI-PURPOSE + 3 WAY VALVE, PEDAL ACTIVATED (08) - HYDRAULICS
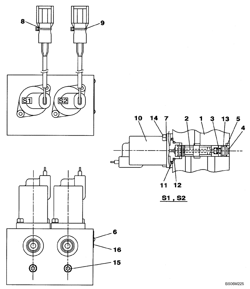
2
1
6
12
15
9
5
11
10
4
7
16
14
8
3
13
FIT
1:1
100%

Артикул

Название

Примечание

Количество

KHJ14780

VALVE SECTION

Incl. 1 - 16

1шт.

1

NSS

NOT SOLD SEPARAT

Body

1шт.

2

NSS

NOT SOLD SEPARAT

Spool

2шт.

3

LG006010

COMPRESSION SPRING

2шт.

4

LR015080

ADAPTER

2шт.

5

LA010960

SNAP RING

2шт.

6

NSS

NOT SOLD SEPARAT

Name Plate

1шт.

7

LA010970

SPRING WASHER

4шт.

8

LD001470

COLLAR

1шт.

9

LD001450

COLLAR

1шт.

10

LL001140

SOLENOID

Incl. 11, 12

2шт.

11

155188A1

O-RING

2шт.

12

154487A1

O-RING

2шт.

13

154463A1

O-RING

2шт.

14

LA010980

BOLT,Hex Skt Hd

4шт.

15

LK005630

PLUG

2шт.

16

NSS

NOT SOLD SEPARAT

Rivet

2шт.

Выбрано товаров: 17