Запчасти Case CX210B (08-82) - VALVE, REMOTE CONTROL (08) - HYDRAULICS

Схема запчастей Case CX210B - (08-82) - VALVE, REMOTE CONTROL (08) - HYDRAULICS
14
8
19
17
16
4
3
10
13
11
12
18
20
9
6
7
2
15
5
1
FIT
1:1
100%

Артикул

Название

Примечание

Количество

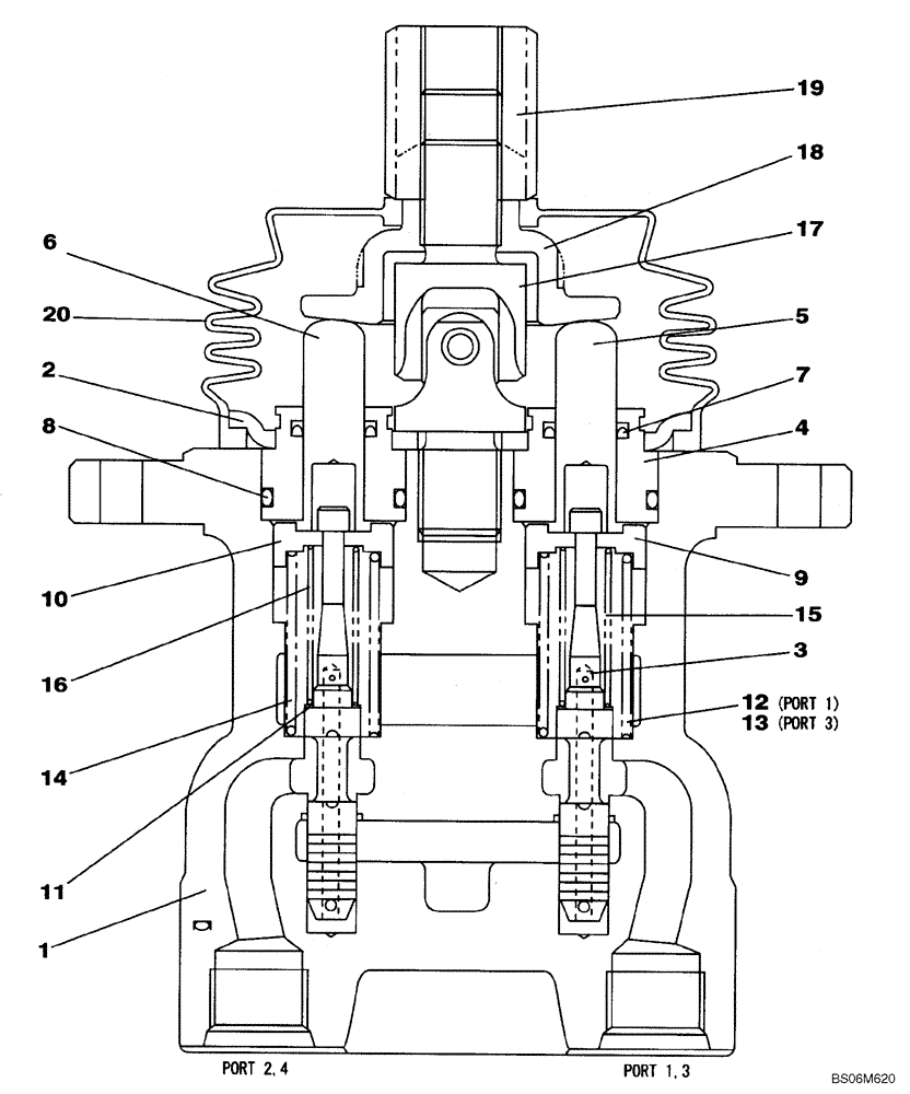
KHJ13290

CONTROL BLOCK

Incl. 1 - 20

1шт.

1

NSS

NOT SOLD SEPARAT

Body

1шт.

2

LR00537

PLATE

1шт.

3

NSS

NOT SOLD SEPARAT

Spool

4шт.

4

160070A1

PLUG

4шт.

5

160026A1

THREADED ROD

2шт.

6

160027A1

THREADED ROD

2шт.

7

CDP0818

OIL SEAL

4шт.

8

154491A1

O-RING

4шт.

9

LR00538

SPRING SEAT

2шт.

10

LR00539

SPRING SEAT

2шт.

11

LA00057

SET OF WASHERS

4шт.

12

LG005470

SPRING

1шт.

13

LG005480

SPRING

1шт.

14

LG005490

SPRING

2шт.

15

LG00312

COMPRESSION SPRING

2шт.

16

LG00313

COMPRESSION SPRING

2шт.

17

155255A1

FLEXIBLE JOINT

1шт.

18

LR00540

PLATE

1шт.

19

156165A1

NUT

1шт.

20

LQ00024

BELLOWS

1шт.

Выбрано товаров: 21