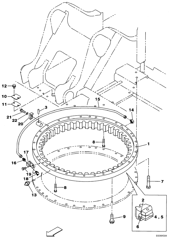
Запчасти Case CX210B (09-01) - TURNTABLE BEARING (09) - CHASSIS/ATTACHMENTS

Схема запчастей Case CX210B - (09-01) - TURNTABLE BEARING (09) - CHASSIS/ATTACHMENTS
8
17
18
21
8
7
15
6
22
13
19
14
12
11
9
5
16
2
10
4
20
3
1
FIT
1:1
100%

Артикул

Название

Примечание

Количество

1

KRB11710

RING GEAR

Incl. 2 - 6

1шт.

2

KRB1273

SEALING RING

1шт.

3

160433A1

DOWEL

1шт.

4

150980A1

BEARING, BALL,28.57mm OD

120шт.

5

163865A1

SPACER

120шт.

6

KRB1274

SEALING RING

1шт.

7

827-20100

BOLT,Hex, M20 x 2.5 x 100mm, Cl 10.9

29шт.

8

165900A1

BOLT,M20 x 100mm, Cl 10.9

2шт.

9

166353A1

BOLT,Flng, M20 x 65mm, Cl 10.9

36шт.

10

KAB0604

COVER

1шт.

11

KAB0623

PACKING

1шт.

12

166351A1

BOLT,Sems, M10 x 20mm

2шт.

13

153630A1

LUBE NIPPLE

1шт.

14

152627A1

ELBOW

1шт.

15

KRB10720

HYD TUBE,6 mm ID x 8 mm OD

1шт.

16

152599A1

MULTIPOLE CONNECTOR

1шт.

17

KRB10730

MANIFOLD VALVE

1шт.

18

153631A1

LUBE NIPPLE,1/8"-27 NPT

1шт.

19

166345A1

BOLT

1шт.

20

168377A1

CLAMP

1шт.

21

627-8030

BOLT,Hex, M8 x 1.25 x 30mm, Cl 10.9, Full Thd

1шт.

22

153081A1

WASHER

1шт.

Выбрано товаров: 22