Запчасти Case CX210B (09-02) - TURNTABLE (09) - CHASSIS/ATTACHMENTS

Схема запчастей Case CX210B - (09-02) - TURNTABLE (09) - CHASSIS/ATTACHMENTS
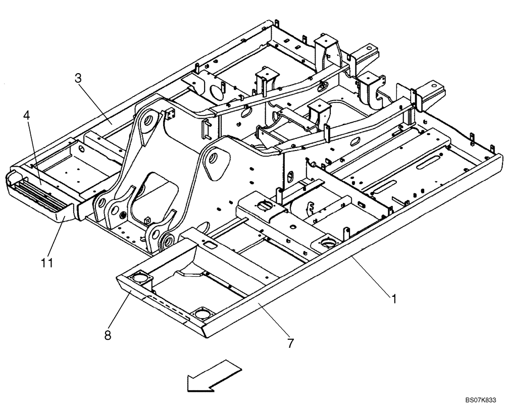
3
8
1
11
7
4
FIT
1:1
100%

Артикул

Название

Примечание

Количество

1

KRB12590

FRAME

Revolving

1шт.

1

KRB20020

FRAME

For ROPS Cab Only

1шт.

3

KBB11100

SIDE MEMBER,3510mm L

PLATE FORMED, RIGHT SIDE, May Need To Be Cut To Length

1шт.

4

KRB10330

SIDE MEMBER

PLATE FORMED, RIGHT FRONT, May Need To Be Cut To Length

1шт.

7

KBB11060

SIDE MEMBER,4098mm L

PLATE FORMED, LEFT SIDE, May Need To Be Cut To Length

1шт.

8

KRB12700

SIDE MEMBER

PLATE FORMED, LEFT FRONT

1шт.

11

KRB13220

STEP

1шт.

Выбрано товаров: 0