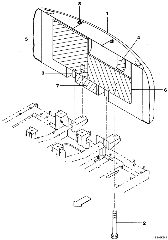
Запчасти Case CX210B (09-04) - COUNTERWEIGHT - SOUNDPROOFING (09) - CHASSIS/ATTACHMENTS

Схема запчастей Case CX210B - (09-04) - COUNTERWEIGHT - SOUNDPROOFING (09) - CHASSIS/ATTACHMENTS
7
1
2
6
4
5
3
8
FIT
1:1
100%

Артикул

Название

Примечание

Количество

1

KRB14350Y2

COUNTERWEIGHT

1шт.

2

KHB10390

BOLT

4шт.

1

Counterweight Lifting Eye Not Serviced - Thread size M42 pitch 4.5mm - length 70mm

1шт.

3

KRB10590

SPACER

4шт.

4

KAB0804

FOAM INSULATION

1шт.

5

KBB11670

NOISE PROTECTION

1шт.

6

KBB11680

NOISE PROTECTION

1шт.

7

KBB11690

NOISE PROTECTION

1шт.

8

150129A1

PLUG

Rubber

2шт.

Выбрано товаров: 0