Запчасти Case CX210B (09-07) - HOOD, ENGINE - INSULATION (09) - CHASSIS/ATTACHMENTS

Схема запчастей Case CX210B - (09-07) - HOOD, ENGINE - INSULATION (09) - CHASSIS/ATTACHMENTS
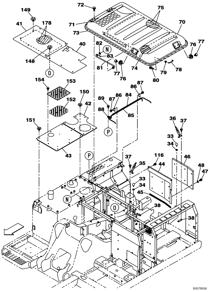
88
152
89
81
82
76
86
73
78
34
87
36
154
149
80
79
71
35
34
83
77
48
87
42
70
178
74
46
47
148
43
37
150
153
37
85
72
116
84
44
45
86
151
77
40
33
76
41
38
38
75
33
FIT
1:1
100%

Артикул

Название

Примечание

Количество

33

151108A1

STOP

2шт.

34

KBH0446

NUT

2шт.

35

152423A1

LATCH

1шт.

36

150790A1

LATCH

1шт.

37

166350A1

BOLT

4шт.

38

KHN16780

PLATE

2шт.

40

KRN14640G1

COVER

1шт.

41

KRN12670G1

COVER

1шт.

42

KRN12680G1

COVER

1шт.

43

KRN12690G1

COVER

1шт.

44

KRN14601

COVER

COVER, Replaces KRN14600

1шт.

45

KAN3478

SEALING STRIP

1шт.

46

KRN14610

COVER

1шт.

47

166350A1

BOLT

6шт.

48

163356A1

WASHER

6шт.

70

KRN12330G1

ENGINE HOOD

Incl. 71

1шт.

71

KHN2143

HINGE

2шт.

72

152718A1

BOLT,Spcl, Hex Wshr, M12 x 25mm, Cl 10.9

6шт.

73

KRN10870

SEAL

1шт.

74

KRN12730

FOAM INSULATION

1шт.

75

KRN14240

NOISE PROTECTION

2шт.

76

150785A1

STOP LOCK

2шт.

77

166350A1

BOLT

4шт.

78

KHN2537

HANDLE

1шт.

79

KHN2538

WASHER

2шт.

80

159906A1

BOLT,Sems, Hex, M6 x 20mm, Spcl

2шт.

81

KRN12570

ROD

1шт.

82

157548A1

WASHER

1шт.

83

KHN2373

PIN, SPLIT (COTTER)

PIN, COTTER

1шт.

84

KRN12530

SPRING

1шт.

85

KRN12540

SPRING

1шт.

86

KRN12550

SUPPORT

2шт.

87

166350A1

BOLT

4шт.

88

KRN12560

SUPPORT

1шт.

89

166350A1

BOLT

2шт.

116

152718A1

BOLT,Spcl, Hex Wshr, M12 x 25mm, Cl 10.9

4шт.

148

KHN12020

BOLT,Spcl

5шт.

149

KHN12020

BOLT,Spcl

6шт.

150

KHN12020

BOLT,Spcl

7шт.

151

KHN12020

BOLT,Spcl

8шт.

152

KHN10940

RUBBER PAD

1шт.

153

KHN13510B1

COVER

1шт.

154

KHN13540

BOLT,Spcl

4шт.

178

KRN14230

NOISE PROTECTION

2шт.

Выбрано товаров: 0